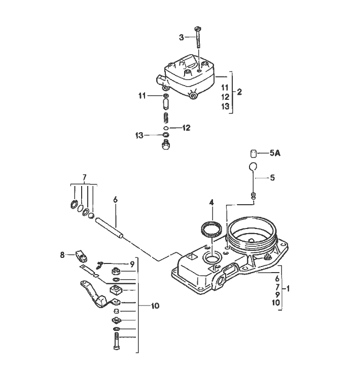
K Jetronic

  
Pos__Part_Number__DescriptionRemarkQty.Model
  k-jetronic   924
  mixture control unit    
1 047 133 471mass air flow meter 77 1 XF XH
1 047 133 471 Bmass air flow meter 781 XE XG
2 063 133 481fuel distributor  1  
-063 133 481 Xfuel distributor  1  
3 049 133 483pan-head Schraube  3  
4 049 133 485 Asealing ring  1  
5 911 110 934 00stopper  1  
6 911 110 941 00straight pin  1  
7 * 911 110 946 00parts kit  1  
  control lever    
8 911 110 929 00safety contact  1  
9 911 110 921 00clamp  1  
10 * 911 110 947 00parts kit  1  
  stop bar    
11 911 110 936 00sealing ring  1  
12 911 110 937 00shim  X  
  0,10 MM    
(12) 911 110 937 01shim  X  
  0,50 MM    
13 900 123 033 20sealing ring  1  


Porsche 944 8Mail.de Fanpage

Porsche 944 Home


FreeCounter by http://www.eurocounter.com