Porsche 924 Kraftstoff System Teile

Kraftstoff System

  
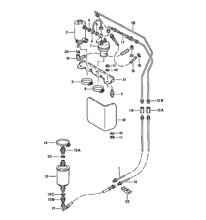
Pos__Part_Number__DescriptionRemarkQty.Model
  fuel system   924
  F >>92472 02047    
1 477 209 175fuel line  1  
  return line    
1A 477 209 161connecting piece  1  
1B 477 209 176fuel line  1  
  return line    
  use also:    
  477.209.071 A    
2 810 906 091 Bfuel pump  1  
3 999 512 349 02hose clamp  1  
4 477 209 067 Afuel line  1  
5 900 123 033 20sealing ring  2  
  A 10 X 13,5    
6 N 011 065 1cap nut  1  
  M 10 X 1    
7 477 209 083pressure accumulator  2  
  20 CCM    
8 111 501 159 Bhose clamp  1  
  44-64 MM    
9 810 906 219 Abonded rubber mounting  3  
10 N 012 006 4lock ring  6  
11 900 076 010 02hexagon nut  6  
12 477 209 177fuel line  1  
  use also:    
  477.209.075.A    
12A 477 209 169connecting piece  1  
12B 477 209 178fuel line  1  
  use also:    
  477.209.075.A    
13 930 110 076 00fuel filter  1  
13A 930 110 199 00Schraube socket  1  
13B 930 110 198 00Schraube socket  1  
  
Pos__Part_Number__DescriptionRemarkQty.Model
13C 900 123 007 30sealing ring A 14 X 18  1  
14 111 501 159 Bhose clamp A 12 X 63  1  
15 477 209 071fuel line return line  1  
16 999 512 554 00hose clamp LB 12 -20  1  
17 477 209 075fuel hose  2  
18 477 209 077heat protection plate  1  
19 477 209 199 Afuel hose  1  
20 N 023 526 2hose clamp A 9 X 18  4  
21 477 209 373support  1  
22 911 356 543 01support  15  
23 N 013 812 3sealing ring A 12 X 15,5  1  


Porsche 944 8Mail.de Fanpage

Porsche 944 Home


FreeCounter by http://www.eurocounter.com