Porsche 924 Central Tube Teile

Central Tube

  
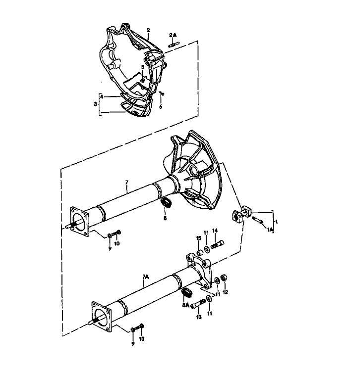
Pos__Part_Number__DescriptionRemarkQty.Model
  central tube   924
1 477 521 145 Aclamping sleeve  1  
  NR. 1 GR.3    
1A 477 521 501 Apan-head Schraube  2  
2 477 521 211 Bclutch housing  1  
2A N 012 690 1grooved pin  3  
  10 X 32    
3 477 521 213lid  1  
4 477 521 214gasket  1  
5 999 591 327 02speed nut  1  
  B 6,3 X 23    
6 N 013 947 3oval-head Schraube  1  
  6,3 X 19    
7 477 521 230 Bcentral tube  1 XT YR
  ready for installation    
  for    
  4-speed    
  transmission    
  use also:    
  477.521.277.C    
7A 477 521 230 Acentral tube  1 VA VB
  ready for installation    
  for    
  5-speed    
  transmission    
8 477 521 277 Acap  1 XT YR
(8) 477 521 277 Ccap  X XT YR
8A 477 521 278cap  1 VR VB
9 900 027 016 02lock ring  4  
10 N 010 275 4hexagon-head bolt  4  
  M 10 X 35    
11 N 011 564 2washer  6  
12 N 011 020 8hexagon nut  2  
  M 12 X 1,5    
  
Pos__Part_Number__DescriptionRemarkQty.Model
13 N 044 757 1pan-head Schraube  2  
  M 12 X 1,5 X 55    
14 N 044 738 1pan-head Schraube  2  
  M 12 X 1,5 X 40    
15 019 301 153dowel sleeve  2  
  crash protection   (USA)(CDN)
  for    
  transmission    
-477 599 131bracket  1 XT YR
-477 599 132bracket AUT. -78 1 RL
-477 599 132 Abracket AUT. 79 1 RL
-477 599 051bracket  1 VB
-N 012 230 6spring washer AUT. 2  
-N 044 764 2pan-head Schraube AUT. 1  
  M 10 X 30    
-N 014 523 2stud AUT. 1  
  AM 10 X 38    
-N 011 010 6hexagon nut AUT. 1  
-477 599 141 Ahook  1  
-477 253 139clip  2  
  for    
  hook    
-900 027 015 02lock ring  2  
-900 076 025 02hexagon nut  4  


Porsche 944 8Mail.de Fanpage

Porsche 944 Home


FreeCounter by http://www.eurocounter.com