Porsche 924 Getriebe Aufhängung Teile

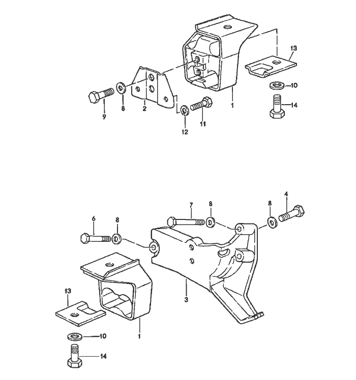
Getriebe Aufhängung

  
Pos__Part_Number__DescriptionRemarkQty.Model
  transmission suspension    
  automatic transmission    
1 477 399 153 Jtransmission mounting   2  
  only by sets      
  use also:      
  477.399.169.C      
  477.399.171.D      
(2) 477 399 169 Asuspension plate /R -78 1  
2 477 399 169 Csuspension plate /R 79 1  
(3) 477 399 171 Csuspender bracket Left 1  
3 477 399 171 Esuspender bracket Left 1  
4 900 075 111 08hexagon-head bolt   1  
  M 10 X 30      
-N 012 230 6spring washer   1  
6 N 040 262 2hexagon-head bolt   2  
  M 8 X 50      
7 N 010 385 3hexagon-head bolt   1  
  M 8 X 85      
8 N 011 525 13washer   3  
9 N 010 254 6hexagon-head bolt   1  
  M 10 X 25    
10 900 025 008 09washer   1  
11 N 010 240 7hexagon-head bolt   2  
  M 8 X 20      
12 N 012 009 3lock ring   2  
13 477 399 281stop plate   2  
14 N 010 254 6hexagon-head bolt   2  
  M 10 X 25      
-900 027 016 02lock ring   2  


Porsche 944 8Mail.de Fanpage

Porsche 944 Home


FreeCounter by http://www.eurocounter.com