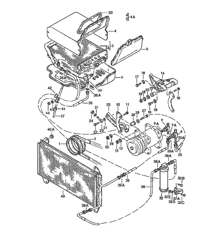
Porsche 924 Luft Conditioner Teile

Luft Conditioner

  
Pos__Part_Number__DescriptionRemarkQty.Model
  air conditioner   M 573
  left-hand drive -79  924
1 477 105 255v-belt pulley  1  
(1) 046 105 255 Fv-belt pulley  1  
-N 014 726 3pan-head Schraube  4  
  M 8 X 30    
2 047 260 849v-belt  1  
3 477 820 013evaporator  1  
-477 820 017 Aevaporator housing  1  
4A 477 820 015 Aevaporator housing  1  
5 477 820 019 Alid  1  
  evaporator housing    
6 477 820 031 Adrip tray  1  
8 059 260 855 Asuction valve  1  
9 059 260 865 Apressure valve  1  
9A 477 298 821o-ring  2  
  mount    
  compressor    
  see tpi    
  GRUPPE 8,NR.8    
10 048 260 885 Asupport  2  
11 900 075 148 02hexagon-head bolt  3  
  M 10 X 32    
12 N 012 230 6spring washer  3  
  B 10    
13 N 011 010 6hexagon nut  3  
  M 10    
14 046 260 889 Abracket  1  
15 048 260 905 Brubber mounting  2  
16 N 010 445 3hexagon-head bolt  3  
  M 10 X 45    
  
Pos__Part_Number__DescriptionRemarkQty.Model
17 N 010 455 3Schraube  2  
  M 10 X 55    
18 N 012 230 6spring washer  5  
  B 10    
19 N 011 010 6hexagon nut  2  
  M 10    
20 111 857 707 Aspacer  2  
21 N 011 525 13washer  2  
22 N 010 244 11hexagon-head bolt  1  
  M 8 X 30    
23 N 016 078 1eye Schraube  1  
  M 8 X 60    
24 311 101 463hexagon nut  1  
  M 8    
25 047 260 903 Bclamp  1  
26 048 260 905 Brubber mounting  1  
27 N 010 460 2hexagon-head bolt  1  
  M 10 X 60    
28 N 011 527 12washer  1  
  A 10,5    
29 N 012 230 6spring washer  1  
  B 10    
30 N 011 010 6hexagon nut  1  
  M 10    
32 944 573 943 00desiccator  1  
32A 477 820 195support  1  
  fluid tank    
32B N 013 884 5tapping Schraube  2  
  B 4,8 X 13    
32C N 010 264 4hexagon-head bolt  1  
  M 5 X 20    
32D N 012 005 3lock ring  1  
  5    
  
Pos__Part_Number__DescriptionRemarkQty.Model
32E N 011 005 14hexagon nut  1  
  M 5    
33 477 820 655gasket  1  
  evaporator housing    
-477 820 657gasket  1  
-999 511 066 02clamp  1  
-N 010 215 13hexagon-head bolt  1  
  M 6 X 15    
-900 076 010 02hexagon nut  1  
  M 6    
-N 012 006 4lock ring  1  
  B 6    
34 843 820 679expansion valve  1  
35 477 820 723hose  1  
  compressor    
  evaporator    
35A 803 260 749 Bo-ring  2  
36 477 820 725hose  1  
  fluid tank    
  evaporator    
37 477 820 727 Bhose  1  
38 477 820 729hose  1  
  condenser    
  fluid tank    
  o-ring  4  
-843 260 762pipe clamp  1  
-N 013 970 5tapping Schraube  1  
  B 4,8 X 9,5    
39 477 820 731hose  1  
  compressor    
  condenser    
39A 803 260 749 Ao-ring  2  
40 477 820 751 Acondenser  1  
40A 477 820 773grommet  4  
  
Pos__Part_Number__DescriptionRemarkQty.Model
41 477 820 752grommet   1  
42 477 820 757clip   3  
43 N 012 026 1lock ring   3  
  B 6      
44 900 076 010 02hexagon nut   3  
  M 6      
  version      
  reinforced      
  for      
  compressor      
  installation      
  see illustrations      
  8/13/40      
  can      
  instead of      
  POS.24-42      
  mounted      
  become      
(14) 047 260 877 Ebracket   1  
-047 260 823vibration damper   1  
(17) 900 074 065 02hexagon-head bolt   1  
  M 10 X 70      
(16) 900 074 063 02hexagon-head bolt   2  
  M 10 X 55      
(18) N 012 230 6spring washer   3  
  B 10      
(10) 047 260 883 Asupport Vorder 1  
(10) 047 260 859 Asupport Hinter 1  
11 900 075 148 02hexagon-head bolt   4  
  M 10 X 32      
12 N 012 230 6spring washer   4  
  B 10      
13 N 011 010 6hexagon nut   4  
  M 10      
-N 010 494 4hexagon-head bolt   1  
  M 10 X 125    
  
Pos__Part_Number__DescriptionRemarkQty.Model
-900 025 008 09washer A 10,5  2  
-N 011 010 6hexagon nut M 10  1  
(25) 047 260 903 Bclamp  1  
-N 012 230 6spring washer B 10  1  
-N 011 010 6hexagon nut M 10  1  
-047 260 947 Awasher  1  
(23) N 900 798 01eye Schraube  1  
(22) 900 075 043 02hexagon-head bolt M 10 X 30  1  
(21) 211 843 661washer  1  
(24) 311 101 463hexagon nut M 8  1  


Porsche 944 8Mail.de Fanpage

Porsche 944 Home


FreeCounter by http://www.eurocounter.com