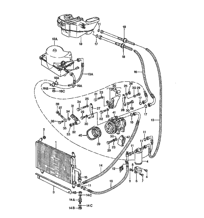
Porsche 924 Luft Conditioner Teile

Luft Conditioner

  
Pos__Part_Number__DescriptionRemarkQty.Model
  air conditioner 79   M 573
1 477 820 751 Bcondenser   1  
2 477 820 773grommet   4  
3 477 853 717 Acooling air duct   1  
4 477 820 193fluid tank   1  
5 477 820 195support   1  
  fluid tank      
6 N 013 884 5tapping Schraube   2  
  B 4,8 X 13      
7 N 010 264 4hexagon-head bolt   1  
  M 5 X 20      
8 N 012 005 3lock ring   1  
  5      
9 N 011 005 14hexagon nut   1  
  M 5      
10 477 820 423hose   1 924
  condenser      
  fluid tank      
11 477 820 489o-ring   4  
12 959 613 137 00low pressure switch   1  
13 477 820 424hose Left Hand Drive 1  
  fluid tank      
  evaporator      
-999 513 003 40tie-wrap   1  
14 477 820 422 Bhose   1  
  compressor      
  condenser      
14A 810 906 219 Abonded rubber mounting   1  
14B 900 076 010 02hexagon nut   2  
  M 6      
14C N 012 007 2lock ring   2  
  A 6      
15 A 477 820 491o-ring   2  
  
Pos__Part_Number__DescriptionRemarkQty.Model
15 999 707 250 40o-ring   2  
16 477 820 425hose Left Hand Drive 1  
  compressor      
  evaporator      
17 478 820 731o-ring   2  
18 901 573 143 00rubber sleeve   2  
19 477 820 002air conditioner Left Hand Drive 1  
  see group      
  8/13/45      
20 047 260 877 Ebracket   1 924
20A 047 260 905 Crubber mounting   2  
21 900 074 065 02hexagon-head bolt   1  
  M 10 X 70      
22 900 074 063 02hexagon-head bolt   2  
  M 10 X 55      
23 N 012 230 6spring washer   3  
  B 10      
24 N 010 494 4hexagon-head bolt   1  
  M 10 X 125      
25 900 025 008 09washer   2  
  A 10,5      
26 N 011 010 6hexagon nut   1  
  M 10      
27 047 260 883 Bsupport Vorder 1  
  compressor      
28 047 260 859 Csupport Hinter 1  
29 N 040 125 1hexagon-head bolt   4  
  M 10 X 30      
30 900 025 008 09washer   4  
  A 10,5      
31 047 260 903 Bclamp   1  
32 N 012 230 6spring washer    
  B 10    
  
Pos__Part_Number__DescriptionRemarkQty.Model
33 N 011 010 6hexagon nut M 10  1  
34 047 260 947 Awasher  1  
35 N 900 798 01eye Schraube  1  
36 900 075 043 02hexagon-head bolt M 10 X 30  1  
37 A 211 843 661washer  1  
37 N 011 525 13washer  1  
38 311 101 463hexagon nut M 8  1  
39 046 105 255 Fv-belt pulley  1  
40 047 260 849 Av-belt  1  
41 047 260 803compressor see group 8/13/60  1  
42 047 260 823 Bvibration damper  1  


Porsche 944 8Mail.de Fanpage

Porsche 944 Home


FreeCounter by http://www.eurocounter.com