Porsche 924 Hinter Window Wiper Teile

Hinter Window Wiper

  
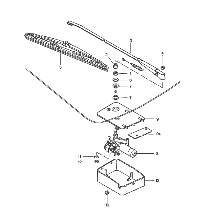
Pos__Part_Number__DescriptionRemarkQty.Model
  rear window wiper   M 425
1 311 955 243 Ahexagon nut  1  
  M 12 X 1    
2 211 955 275 Acap  1  
3 477 955 409 Awiper arm  1  
3A 477 955 411spring  1  
4 999 084 045 02lock nut  1  
(5) 928 628 218 01wiper blade  1  
6 477 955 435 Awasher  1  
7 477 955 439grommet  2  
8 477 955 713 Awiper motor  1  
  together with    
  rear lid    
  MOD.88-   
  use also:    
-944 628 071 02mounting plate  1  
 03Cblack    
-445 955 753bush  1  
-533 955 758grommet  1  
-944 628 103 00bush  1  
-N 014 133 8oval-head Schraube  2  
  M 5 X 12    
-N 011 524 7washer  4  
  A 6,4    
-999 209 017 02spacer sleeve  2  
-999 702 180 40rubber sleeve  2  
9 477 955 715 Bmounting plate  1  
9A 477 955 719intermediate plate -78 1  
10 111 941 189drain bush  1  
11 N 012 226 5spring washer  3  
  B 6    
  
Pos__Part_Number__DescriptionRemarkQty.Model
12 900 076 010 02hexagon nut M 6  3  
13 477 955 737cap  1  
-311 949 149 Bgrommet for wiring harness  1 1  
-171 971 999 Aterminal sleeve housing  1  


Porsche 944 8Mail.de Fanpage

Porsche 944 Home


FreeCounter by http://www.eurocounter.com