Porsche 924 Windscreen Washer System Teile

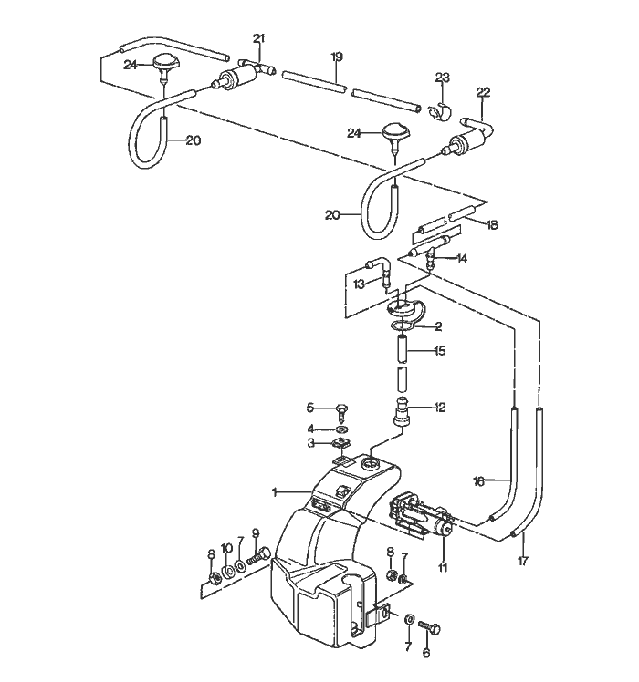
Windscreen Washer System

  
Pos__Part_Number__DescriptionRemarkQty.Model
  windscreen washer system 79   
1 477 955 451 Dwater reservoir  1  
  F 92492 04907>>    
  F 92493 30238>>    
(1) 477 955 451 Afluid tank  1  
  F >>92492 04906    
  F >>92493 30237    
2 477 955 455lid  1  
3 477 955 461speed nut  1  
  6,3 X 22    
4 900 151 029 02washer  1  
5 N 013 891 1tapping Schraube  1  
  B 6,3 X 19    
6 N 010 218 6hexagon-head bolt  1  
  M 6 X 25    
7 N 011 612 3washer  4  
8 900 076 010 02hexagon nut  2  
9 N 010 220 3hexagon-head bolt  1  
  M 6 X 30    
10 052 109 135spacer sleeve  1  
11 823 955 651pump  1  
12 911 628 749 00t-piece  1  
13 477 955 456connection piece  1  
14 477 955 459t-socket  1  
-N 020 301 1hose  *  
15 -500 MM  2  
16 -260 MM  1  
17 -280 MM  1  
18 -1640 MM  1  
19 -390 MM  1  
20 -160 MM  2  
  
Pos__Part_Number__DescriptionRemarkQty.Model
21 914 628 433 00valve  1  
22 477 955 481valve  1  
23 477 971 939cable terminal  4  
24 914 628 203 11nozzle  2  


Porsche 944 8Mail.de Fanpage

Porsche 944 Home


FreeCounter by http://www.eurocounter.com