Porsche 924 Battery Teile
|

|
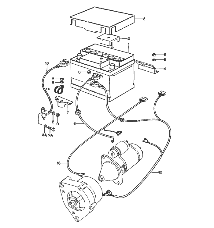
| Pos | __Part_Number__ | Description | Remark | Qty. | Model | | (12) | 477 971 223 B | line battery starter | Left Hand Drive | 82 | 1 | TURBO, | | | | generator | | | | | | 13 | 047 971 224 A | battery-starter cable battery starter | | -80 | 1 | 924(USA)(CDN | | (13) | 477 971 226 A | line battery starter | | 81 | 1 | 924(USA)(CDN | | (13) | 047 971 224 A | battery-starter cable battery starter | Left Hand Drive | | 1 | 924 | | 14 | 999 511 137 02 | clip | | 82 | 1 | |
|