Porsche 924S Lenkung Gear Teile

Lenkung Gear

  
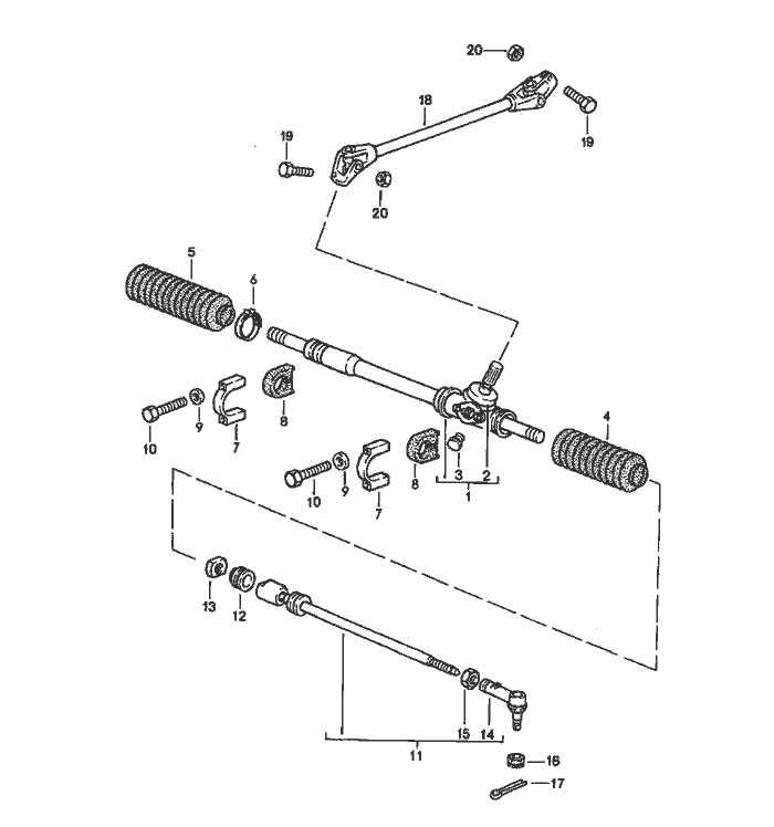
Pos__Part_Number__DescriptionRemarkQty.Model
  steering gear     
  tie rod     
1 944 347 011 00steering gear Left Hand Drive 1  
2 477 419 321cap   1  
3 477 419 115stopper   1  
4 171 419 831 Cboot Left 1  
5 171 419 832 Cbellows Right 1  
6 823 419 843terminal   1  
  $ 45 MM     
7 944 347 223 01clip Left Hand Drive 2  
8 944 347 137 00rubber insert Left 1  
(8) 944 347 139 00rubber insert Right 1  
9 900 025 007 02washer   2  
  A 8,4     
10 N 010 360 6hexagon-head bolt Left Hand Drive 4  
  M 8 X 60     
11 944 347 033 01tie rod   2  
12 477 419 827stop ring   2  
13 171 419 855nut   2  
  M 22 X 1,5     
14 944 347 333 01ball joint   2  
15 N 011 163 3hexagon nut   2  
16 N 011 212 2castle nut   2  
17 N 012 532 1cotter pin   2  
  3 X 25     
18 944 347 027 01drive shaft Left Hand Drive 1  
19 N 010 335 7hexagon-head bolt   2  
  M 8 X 35     
20 900 910 022 09lock nut   2  


Porsche 944 8Mail.de Fanpage

Porsche 944 Home


FreeCounter by http://www.eurocounter.com