Porsche 924S Windscreen Wiper System Teile

Windscreen Wiper System

  
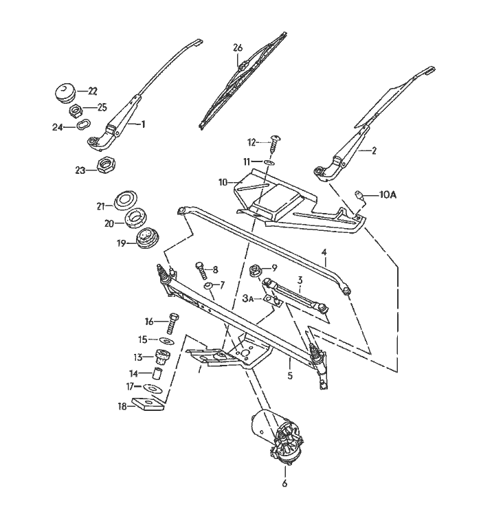
Pos__Part_Number__DescriptionRemarkQty.Model
  windscreen wiper system     
1 477 955 028wiper arm   1  
  passenger's side     
2 477 955 028wiper arm   1  
  driver's side     
3 477 955 035 Bconnecting rod   1  
3A 477 955 039 Acrank   1  
4 477 955 036 Bconnecting rod   1  
5 477 955 041 Bframe   1  
6 477 955 113 Bwindscreen wiper motor   1  
7 N 012 105 3serrated lock washer   3  
  A 6,4     
8 999 072 005 09hexagon-head bolt   3  
  M 6 X 12     
9 999 084 045 02lock nut   1  
  M 6     
10 477 955 123cover Left Hand Drive 1  
10A 803 827 589 Abuffer   1  
11 900 151 028 02washer   1  
  B 4,3     
12 N 013 957 5tapping Schraube   1  
  BZ 3,5 X 9,5     
13 477 955 127rubber bush   1  
14 477 955 128spacer sleeve   1  
15 N 011 666 7washer   1  
  B 6,4     
16 900 378 030 09hexagon-head bolt   1  
  M 6 X 20     
17 281 711 135washer   1  
  12,2 X 28 X 2     
18 477 955 129desk pad   1  
19 901 628 924 00rubber bush   2  
  
Pos__Part_Number__DescriptionRemarkQty.Model
20 901 628 923 01rubber bush  2  
21 911 628 963 00flange washer  2  
22 477 955 205cap  2  
23 481 955 243 Ahexagon nut  2  
  M 16 X 1    
24 803 955 437washer  2  
25 N 011 008 8hexagon nut  2  
  M 8    
26 478 955 425wiper blade  2  


Porsche 944 8Mail.de Fanpage

Porsche 944 Home


FreeCounter by http://www.eurocounter.com