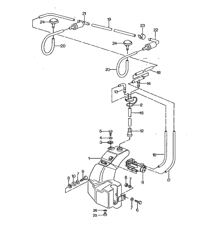
Porsche 924S Windscreen Washer System Teile

Windscreen Washer System

  
Pos__Part_Number__DescriptionRemarkQty.Model
  windscreen washer system    
1 477 955 451 Dwater reservoir -87 1  
(1) 944 628 060 00water reservoir 881  
(1) 944 628 061 00water reservoir 881 M 288
2 477 955 455lid -87 1  
(2) 911 628 077 01lid 881  
3 477 955 461speed nut  1  
  6,3    
4 N 011 666 7washer  1  
  B 6,4    
5 N 013 891 1tapping Schraube  1  
  B 6,3 X 19    
6 N 010 218 6hexagon-head bolt  1  
  M 6 X 25    
7 N 011 612 3washer  4  
  R 7    
8 900 076 010 02hexagon nut  2  
  M 6    
9 N 010 220 3hexagon-head bolt  1  
  M 6 X 30    
10 052 109 135spacer sleeve  1  
11 823 955 651pump -87 1  
11 928 628 172 01pump 881  
12 911 628 749 00t-piece  1  
13 477 955 456connection piece  1  
14 477 955 459t-socket  1  
-N 020 301 1hose  *  
  4 X 1    
15 -500 MM  2  
16 -260 MM  1  
17 -280 MM  1  
  
Pos__Part_Number__DescriptionRemarkQty.Model
-999 181 722 40hose 4,6 X 1,8   *  
18 -1680 MM   1  
19 -500 MM   1  
20 -250 MM Right 1  
(20) -330 MM Left 1  
-N 100 020 01clamp   8  
21 914 628 433 00valve   1  
22 477 955 481valve   1  
23 477 955 981cable terminal   1  
(23) 944 628 181 00retaining clip   6  
(24) 944 628 077 00nozzle Right 1  
 01Cblack heatable     
(24) 928 628 077 00nozzle Left 1  
 70Bblack heatable     
25 999 063 015 40stopper   1  
26 999 707 171 40o-ring   1  


Porsche 944 8Mail.de Fanpage

Porsche 944 Home


FreeCounter by http://www.eurocounter.com