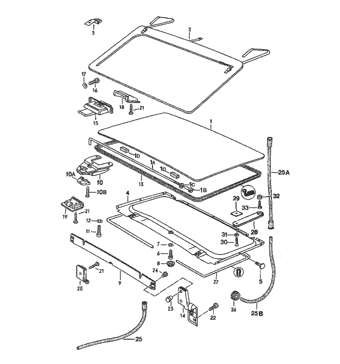
Porsche 944 Lifting Roof Teile

Lifting Roof

  
Pos__Part_Number__DescriptionRemarkQty.Model
  lifting roof -83  M 650
1 477 871 021roof  1  
1A 477 871 761tensioning device  1  
1B 477 871 763 Athreaded sleeve  1  
1C N 011 524 7washer B 6  1  
1D 477 871 789sealing strip  2  
2 477 871 027retaining pocket  1  
 05Tblack    
 21Sbrown    
2 477 871 027retaining pocket F >>94DN4 56824  1  
 4RBbrown F 94DN4 56825>>    
3 477 871 029support  1  
 041black    
 90Vdark brown    
4 477 871 047 Blining  1  
 05Tblack    
 21Sbrown -6.82   
 4RBbrown 7.82-  
 1DBblack    
5 477 871 053clip  11  
6 311 867 167tapping Schraube 4,2  1  
7 900 151 028 02washer 4,3  1  
8 311 867 169cap  1  
 01Cblack    
  
Pos__Part_Number__DescriptionRemarkQty.Model
 90Vbrown     
9 944 564 993 00air deflector   1  
10 477 871 217roof catch Vorder 2  
10A 477 871 219bearing bracket   2  
 01Cblack     
10B N 033 174 1countersunk-head Schraube   6  
  3 X 6     
11 N 033 018 1lens-head Schraube   2  
  M 5 X 12     
12 999 704 605 07cone washer   2  
13 944 564 114 01gasket   1  
14 477 871 635 Ahinge Left 1  
(14) 477 871 636 Ahinge Right 1  
15 477 871 649roof catch Hinter 2  
16 900 146 003 02oval-head Schraube   8  
  AM 5 X 11     
17 N 012 222 4spring washer   8  
  B 5     
18 477 871 651 Alocking bracket   2  
19 477 871 665 Acentring wedge Vorder 2  
20 477 871 683 Abearing   1  
21 N 013 964 4tapping Schraube   9  
  B 4,2 X 16     
22 900 143 031 02oval-head sheetmetal Schraube   4  
  B 4,2 X 9,5     
23 477 871 701 Acap nut   4  
24 477 837 959self-lock. fillister Schraube   4  
25 321 877 233 Cwater drain hose Vorder 2  
25A 944 564 235 00water drain hose Hinter Left 1  
25B 944 564 237 00water drain tube Hinter Left 1  
  
Pos__Part_Number__DescriptionRemarkQty.Model
(25A) 944 564 064 00water drain hose Hinter Right1  
(25B) 944 564 238 00water drain tube Hinter Right1  
26 021 119 569rubber sleeve  X  
27 944 564 621 00edge protection  1  
28 477 871 501securing strap  1  
 43Sblack    
 87Sbrown    
28 477 871 501securing strap F >>94DN4 56824  1  
 4RBbrown F 94DN4 56825>>    
29 477 871 505reinforcement plate  1  
30 N 014 091 4tapping Schraube B 3,9 X 16  1  
31 N 011 590 1cone washer  1  
32 477 871 509ball knob  1  
33 900 143 003 00tapping Schraube B 3,5 X 16  1  
34 477 871 159lever  2  
35 N 013 327 1roll pin 3 X 18  2  


Porsche 944 8Mail.de Fanpage

Porsche 944 Home


FreeCounter by http://www.eurocounter.com