Porsche 944 Windscreen Washer System Teile

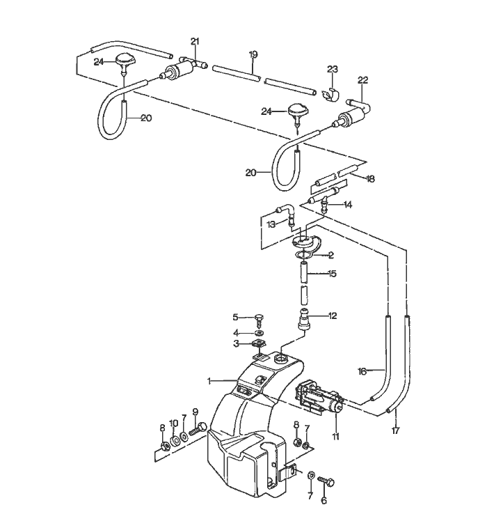
Windscreen Washer System

  
Pos__Part_Number__DescriptionRemarkQty.Model
  windscreen washer system    
1 477 955 451 Dfluid tank  1  
2 477 955 455lid  1  
3 477 955 461speed nut  1  
  6,3 X 22    
4 N 011 666 7washer  1  
  A 6,4    
5 N 013 891 1tapping Schraube  1  
  B 6,3 X 19    
6 N 010 218 6hexagon-head bolt  1  
  M 6 X 25    
7 N 011 612 3washer  4  
  R 7    
8 900 076 010 02hexagon nut  2  
  M 6    
9 N 010 220 3hexagon-head bolt  1  
  M 6 X 30    
10 052 109 135spacer sleeve  1  
11 823 955 651pump  1  
 477 955 743clip  1  
  for    
  pump    
12 911 628 749 00t-piece  1  
13 477 955 456connection piece  1  
14 477 955 459t-socket  1  
-N 020 301 1hose  *  
  4 X 1    
15 -500 MM  2  
16 -260 MM  1  
17 -280 MM  1  
18 -1640 MM -84 1  
19 -390 MM -84 1  
  
Pos__Part_Number__DescriptionRemarkQty.Model
20 -160 MM  -84 2  
-999 181 722 40hose   X  
  4,6 X 1,8     
(18) -1680 MM  851  
(19) -500 MM  851  
(20) -250 MM Right851  
(20) -330 MM Left851  
-N 100 020 01clamp  858  
21 914 628 433 00valve   1  
22 477 955 481valve   1  
23 477 971 939cable terminal  -84 4  
(23) 477 955 981cable terminal  851  
(23) 944 628 181 00retaining clip  856  
24 914 628 203 11nozzle  -84 2  
(24) 944 628 911 00nozzle  -84 2  
  heatable     
(24) 944 628 077 00nozzle Right851  
 01Cblack     
  heatable     
(24) 928 628 077 00nozzle Left851  
 70Bblack     
  heatable     


Porsche 944 8Mail.de Fanpage

Porsche 944 Home


FreeCounter by http://www.eurocounter.com