Porsche 944 Öl Kühlung Teile

Öl Kühlung

  
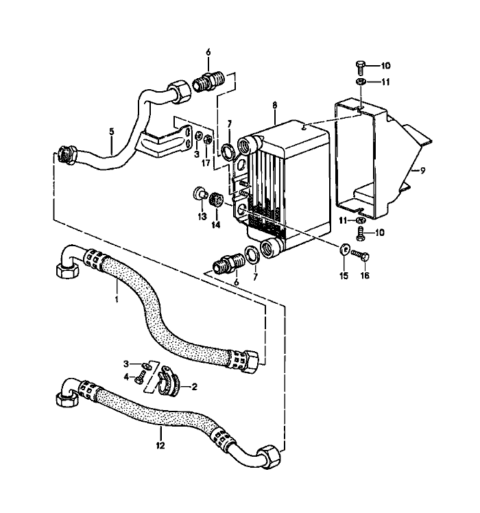
Pos__Part_Number__DescriptionRemarkQty.Model
  oil cooling   M44.50/51
     M44.52
1 951 207 113 03oil pipe  1  
  F >>95GN1 57454    
1 951 207 113 01oil pipe  1  
  F 95GN1 57455>>    
2 N 020 647 1clamp  1  
3 N 011 524 7washer  1  
4 N 010 215 13hexagon-head bolt  1  
5 951 207 112 02oil pipe  1  
6 900 915 101 02Schraube socket  2  
7 900 123 011 30sealing ring  2  
  A 22 X 27    
8 951 207 309 02oil cooler  1  
9 951 207 311 03air duct  1  
10 N 010 210 13hexagon-head bolt  2  
  M 6 X 10    
11 N 011 666 7washer  2  
  B 6,4    
12 951 207 111 03oil pipe  1  
13 951 207 114 00spacer sleeve  2  
14 056 129 669 Bgrommet  2  
15 N 011 612 3washer  2  
  R 7    
16 900 075 341 02combination Schraube  2  
  M 6 X 25    
17 900 076 010 02hexagon nut  2  


Porsche 944 8Mail.de Fanpage

Porsche 944 Home


FreeCounter by http://www.eurocounter.com