Porsche 944 Wasser Kühlung Teile

Wasser Kühlung

  
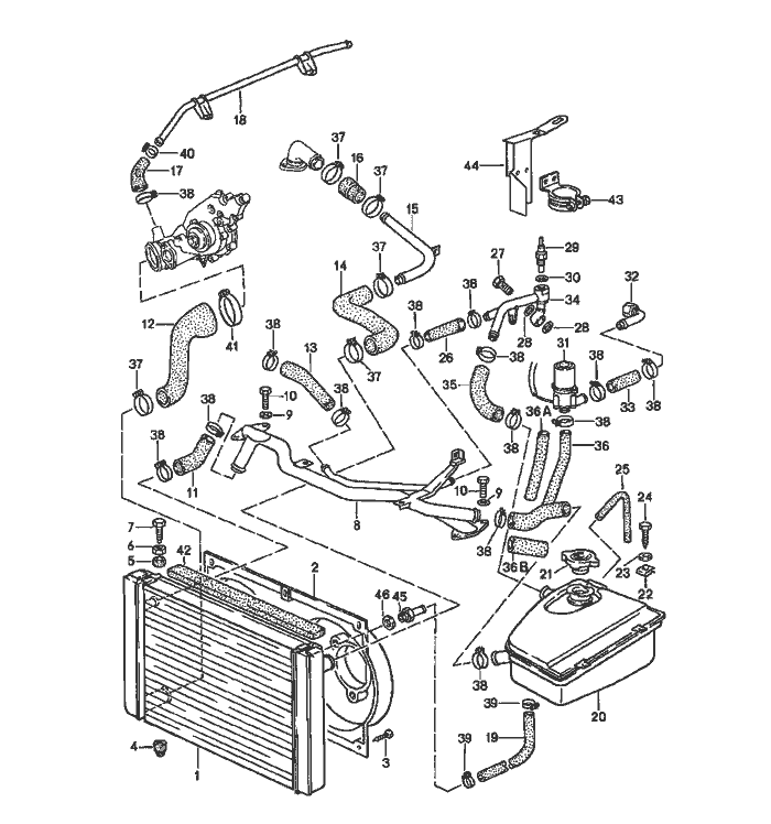
Pos__Part_Number__DescriptionRemarkQty.Model
  water cooling   M44.50/51
     M44.52
1 951 106 031 50radiator  1  
-944 106 353 01Schraube plug  1  
2 951 106 143 00airscoop  1  
3 900 187 111 02combination Schraube  6  
4 951 106 107 00rubber mounting  2  
5 951 106 053 00rubber mounting  2  
6 900 076 025 02hexagon nut  2  
  M 8    
7 900 046 004 02hexagon-head bolt  2  
  AM 8 X 40    
8 951 110 171 02bracket -87 1 M44.50/51
8 951 110 171 03bracket 881 M44.52
9 N 011 666 7washer  4  
  B 6,4    
10 900 075 014 02hexagon-head bolt  4  
  M 6 X 18    
11 951 106 245 03water hose  1  
12 951 106 237 02water hose  1  
13 951 106 321 02water hose  1  
14 951 106 241 01water hose  1  
15 951 106 091 00water tube  1  
16 951 106 239 01water hose  1  
17 944 106 241 03water hose  1  
18 944 106 243 03water tube  1  
19 951 106 249 01water hose  1  
20 951 106 025 02expansion tank  1  
21 944 106 257 00lid  1  
  
Pos__Part_Number__DescriptionRemarkQty.Model
22 477 955 461speed nut  2  
23 N 011 524 7washer  2  
  A 6,4    
24 N 090 172 1combination Schraube  2  
  6,3 X 19    
25 944 106 251 00water hose  1  
26 951 106 322 02water hose  1  
27 900 175 005 02banjo bolt  1  
  M 16 X 1,5    
28 N 013 848 5sealing ring  2  
  A 16 X 22    
29 930 606 118 00temperature switch  1  
30 900 123 007 30sealing ring  1  
31 951 606 130 01water pump  1  
32 951 106 055 00line  1  
33 951 106 248 00water hose  1  
34 951 106 056 05water tube  1  
  M >> 45G 03689    
34 951 106 056 08water tube -87 1  
  M 45G 03690 >>    
34 951 106 056 08water tube 88 1  
35 951 106 251 02water hose  1  
36 951 106 247 02water hose -87 1 M44.50/51
36A 951 106 247 04water hose 881 M44.52
36B 951 106 243 01water hose 881 M44.52
37 999 512 500 00hose clamp  1  
  32 -50    
38 999 512 392 00hose clamp  X  
  SGT 20 -32/13  X  
40 999 512 346 00hose clamp  X  
  16 -25    
  
Pos__Part_Number__DescriptionRemarkQty.Model
41 999 512 390 00hose clamp SB 60 -80  1  
42 944 556 837 00sealing rubber  1  
43 951 106 325 00clamp for  1  
  water pump    
44 951 106 323 00support for  1  
  water pump    
45 944 106 927 00Schraube socket  1  
46 944 106 928 00sealing ring A 18 X 12  1  


Porsche 944 8Mail.de Fanpage

Porsche 944 Home


FreeCounter by http://www.eurocounter.com