Porsche 944 L-jetronic Teile

L Jetronic

  
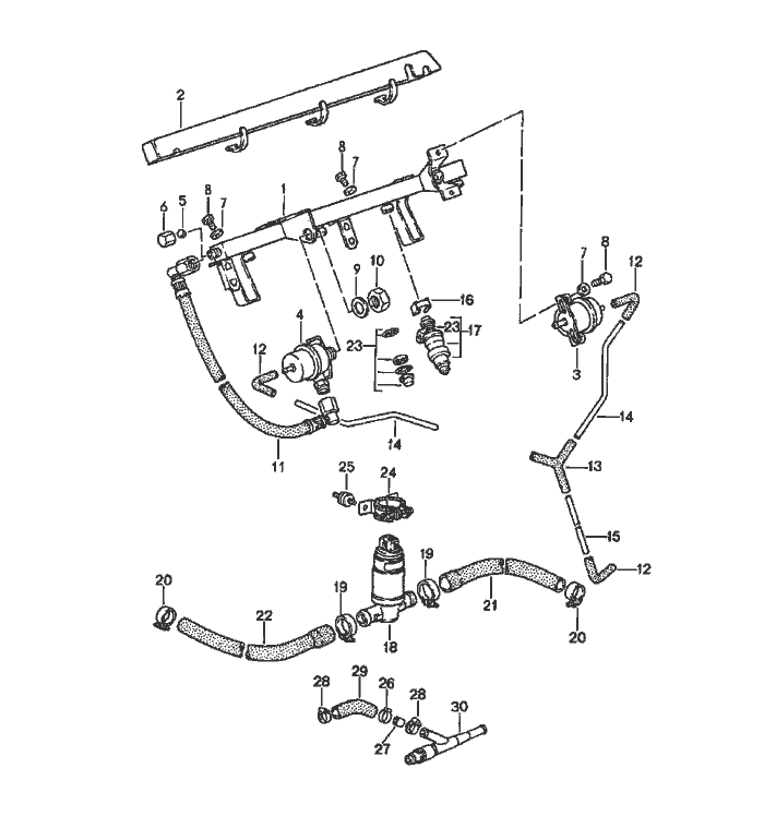
Pos__Part_Number__DescriptionRemarkQty.Model
  l-jetronic   M44.05-10
  II    
1 944 110 080 20fuel collection pipe  1  
2 944 607 081 03cover  1  
3 944 110 198 03pressure regulator  1  
4 944 110 201 03diaphragm damper  1  
5 900 108 022 00ball  1  
6 928 110 475 01cap nut  1  
7 N 011 524 7washer  4  
8 999 072 005 09hexagon-head bolt  4  
  M 6 X 12    
9 900 031 013 02washer 85 1  
9 N 012 238 5spring washer 861  
10 900 034 013 02hexagon nut  1  
  M 16 X 1,5    
11 944 110 413 02fuel line  1  
12 928 574 717 02moulded hose  X  
13 928 573 727 02distributing piece  X  
-N 020 139 11pipe    
  4 X 1    
14 -180 MM  2  
15 -380 MM  1  
16 930 110 388 00retaining clip  4  
17 930 606 120 00injector valve  4  
18 930 606 161 00idle-speed adjuster  1  
19 999 512 326 00hose clamp  2  
  SGT 23 -35 / 9 W 2    
20 999 512 346 00hose clamp  2  
  SGT 16 -25 / 9 W 2    
21 944 110 214 01hose  1  
  
Pos__Part_Number__DescriptionRemarkQty.Model
22 944 110 217 00hose  1  
23 944 110 901 00gasket set for injector valve  4  
24 999 512 395 02clamp  1  
25 928 110 191 10bonded rubber mounting  2  
26 999 512 457 00clamp  1  
27 944 110 241 04restrictor  1  
28 999 512 456 00clamp  2  
29 944 110 361 02moulded hose  1  
30 -venturi tube    
  see group 6/04/00    


Porsche 944 8Mail.de Fanpage

Porsche 944 Home


FreeCounter by http://www.eurocounter.com