Porsche 944 L-jetronic Teile

L Jetronic

  
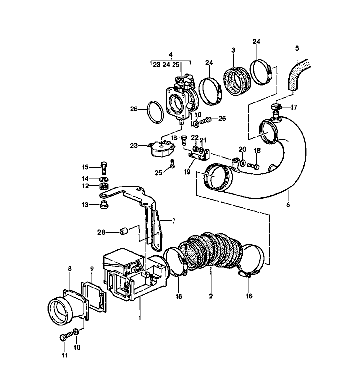
Pos__Part_Number__DescriptionRemarkQty.Model
  l-jetronic   M44.40
  1    
1 944 606 124 00mass air flow meter  1  
2 944 110 317 02moulded hose  1  
3 944 110 321 02connecting hose  1  
4 944 110 083 01throttle body  1  
5 944 107 311 00connecting hose  1  
6 944 110 323 05intake manifold 87 1  
6 944 110 323 04intake manifold 881  
7 944 110 145 00support  1  
8 944 110 014 70intake trumpet  1  
9 928 110 201 01sealing frame  1  
10 N 011 524 7washer  4  
11 900 075 057 02hexagon-head bolt  4  
12 999 702 159 40rubber sleeve  3  
13 944 110 437 00sleeve  3  
14 N 011 612 3washer  3  
15 900 075 017 02hexagon-head bolt  3  
16 N 023 576 1hose clamp  2  
17 999 512 045 02hose clamp  1  
18 N 040 268 1hexagon-head bolt  3  
19 944 110 123 01support  1  
20 900 025 014 02washer  1  
21 N 011 524 7washer  1  
22 900 910 096 02lock nut  1  
23 944 606 113 01throttle-valve switch  1  
24 999 512 410 02hose clamp  2  
  
Pos__Part_Number__DescriptionRemarkQty.Model
25 900 146 120 02Schraube  2  
26 999 701 331 40round seal  1  
27 N 014 734 1pan-head Schraube  4  
28 999 085 001 02socket head nut  2  
-944 110 227 00cover plate  1  
-964 110 930 00return spring  1  


Porsche 944 8Mail.de Fanpage

Porsche 944 Home


FreeCounter by http://www.eurocounter.com