Porsche 944 Auspuff System Teile

Auspuff System

  
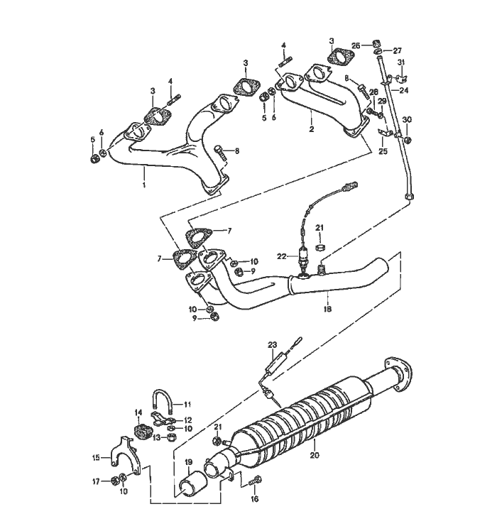
Pos__Part_Number__DescriptionRemarkQty.Model
  exhaust system   M44.05/06
     M44.07/08
  catalytic converter    
1 944 111 127 05exhaust manifold  1  
  cylinders 1 and 4    
  sheet metal elbow    
2 944 111 129 04exhaust manifold  1  
  cyl. 2 and 3    
  sheet metal elbow    
3 944 111 196 00gasket  4  
3 944 111 196 01gasket  4  
  without asbestos    
4 999 062 044 02stud  8  
  M 8 X 30    
5 999 084 052 02lock nut  8  
  M 8    
6 928 111 181 00washer  8  
7 944 111 135 01gasket  2  
7 944 111 135 01gasket  2  
  without asbestos    
8 900 074 282 02hexagon-head bolt  6  
  M 8 X 35    
9 N 022 008 4lock nut  6  
  VM 8    
10 900 025 007 02washer  8  
  A 8,4    
11 477 253 139clip  1  
12 944 111 307 00support  1  
13 900 910 097 02lock nut  2  
  VM 8    
14 944 111 142 01rubber mounting  1  
15 931 111 061 02hook  1  
16 N 010 240 16hexagon-head bolt  2  
  M 8 X 20    
  
Pos__Part_Number__DescriptionRemarkQty.Model
17 900 076 025 02hexagon nut  2  
  M 8    
18 944 111 987 03exhaust pipe  1  
19 944 111 981 00sleeve  1  
20 944 111 989 03catalytic converter  1  
21 930 113 153 00cap  1  
22 944 606 135 02oxygen sensor  1  
22 944 606 135 00oxygen sensor  1 (CAL)
24 A 944 111 175 03exhaust emission tube  1  
24 944 111 175 05exhaust emission tube  1  
25 944 111 177 02support  1  
26 034 133 335 Dcap  1  
27 999 512 160 02hose clamp  1  
28 999 072 005 09hexagon-head bolt  1  
  M 6 X 12    
29 N 011 524 7washer  1  
  A 6,4    
30 900 076 010 02hexagon nut  1  
  M 6    
31 944 111 179 00support  1  


Porsche 944 8Mail.de Fanpage

Porsche 944 Home


FreeCounter by http://www.eurocounter.com