Porsche 944 Lenkung Räder Lenkung Column Teile

Lenkung Räder Lenkung Column

  
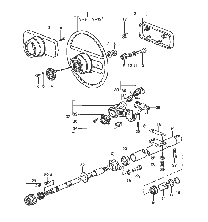
Pos__Part_Number__DescriptionRemarkQty.Model
  steering wheels steering column    
1 944 347 084 05sports steering wheel leatherette $ 380 MM  1  
 1AJblack    
 4RBbrown    
 7LDburgundy    
(1) 944 347 084 08sports steering wheel leather $ 380 MM  1  
 1AJblack    
 4RBbrown    
 7LDburgundy    
1 944 347 084 10steering wheel leather with elevated hub $ 363 MM  1 M 018
 1AJblack    
 4RBbrown    
 7LDburgundy    
1 944 347 084 09sports steering wheel leather $ 363 MM  1 M 431
 1AJblack    
 4RBbrown    
 7LDburgundy    
1 928 347 084 07sports steering wheel leather $ 363  1 M 431
 1AJblack    
(1) 944 347 804 50sports steering wheel airbag  1 M 562
  
Pos__Part_Number__DescriptionRemarkQty.Model
 1AJblack     
 4RBbrown     
 7LDburgundy     
2 944 347 859 08padded cap leatherette   1  
 1DBblack     
 4RBbrown     
 7LDburgundy     
2 944 347 859 05padded cap leather   1  
 1AJblack     
 4RBbrown     
 7LDburgundy     
3 928 347 857 02lining for four-spoke steering wheel   1  
 1DBblack     
 4RBbrown     
 7LDburgundy     
(2) 944 347 835 00horn button Left 1 M 562
 01Cblack     
 4RBbrown     
 9MMburgundy     
(2) 944 347 836 00horn button Right 1 M 562
 01Cblack     
 4RBbrown     
 9MMburgundy     
4 928 347 099 00slip ring   1  
(4) 944 612 355 00wiper contact   1 M 562
  
Pos__Part_Number__DescriptionRemarkQty.Model
5 N 012 131 2shake-proof washer   3  
  J 3,7     
6 900 146 029 02oval-head Schraube   6  
  AM 3,5 X 10     
7 N 012 238 5spring washer   1  
  B 16     
8 900 078 006 01hexagon nut   1  
  M 16 X 1,5     
9 321 419 779 Ainsulating bush   4  
10 900 025 002 02washer   4  
  A 4,3     
11 N 042 122 2shake-proof washer   4  
  A 4,3     
12 N 010 261 3hexagon-head bolt   3  
  M 4 X 15     
13 171 419 697spring   3  
(13) 944 347 884 00spring   2 M 562
14 171 419 341support ring   1  
15 944 347 473 00shim   X  
17 999 234 004 00shim   1  
18 999 042 017 01snap ring   1  
19 944 347 063 04steering column tube   1  
19 944 347 063 07steering column tube   1 M 562
20 411 417 613rubber mounting   1  
20 999 707 008 40o-ring   1 M 562
21 411 417 605support ring   1  
21 944 347 076 00support ring   1 M 562
22 944 347 067 02steering column Left Hand Drive 1  
(22) 944 347 019 03steering column Left Hand Drive-86 1 TURBO
   Left Hand Drive-86  944,M 657
  
Pos__Part_Number__DescriptionRemarkQty.Model
22 944 347 019 04steering column Left Hand Drive871 TURBO
   Left Hand Drive87- 944,M 657
22 944 347 019 07steering column Left Hand Drive-87 1 M 562
22 944 347 019 10steering column Left Hand Drive88 1 M 562
23 477 419 059needle sleeve   1  
24 113 415 511needle-roller bearing   1  
25 900 025 041 02washer   2  
  A 8,4     
26 999 074 022 02shear bolt   2  
27 N 010 241 0hexagon-head bolt   1  
  M 8 X 22     
28 N 010 215 13hexagon-head bolt Left Hand Drive 2  
  M 6 X 15     
29 211 805 243spring washer   2  
  steering lock     
30 944 538 075 00lock cylinder   1  
  w/o stipulated lock number     
(30) 944 538 075 01lock cylinder   1  
  with stipulated lock number     
31 944 347 343 01shear bolt   2  
32 944 347 975 03housing   1  
  for     
  steering lock     
33 964 613 012 00ignition starter switch   1  
34 911 613 125 00buzzer contact   1  
35 944 347 363 00lock   1  
36 N 014 122 8oval-head Schraube   2  
37 944 538 183 00control cams   1  
38 944 347 351 02retainer plate   1  


Porsche 944 8Mail.de Fanpage

Porsche 944 Home


FreeCounter by http://www.eurocounter.com