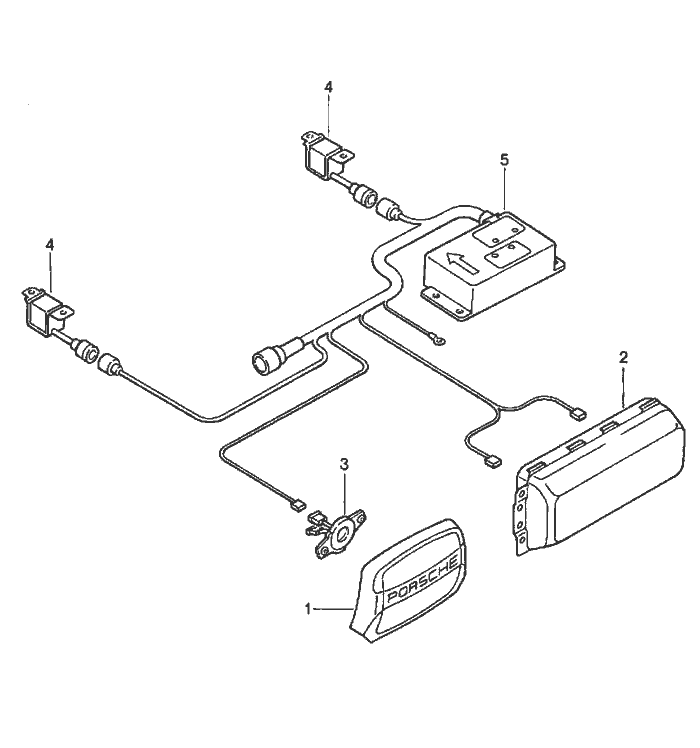
Porsche 944 Luftbag Teile

Luftbag

  
Pos__Part_Number__DescriptionRemarkQty.Model
  airbag   M 562
1 944 347 989 03airbag unit driver's side set  1  
 1AJblack    
 4RBbrown    
 7LDburgundy    
-999 073 025 02pan-head Schraube for airbag unit M 6 X 19  2  
2 944 803 071 02airbag unit passenger's side use also:  1  
-999 218 030 08pan-head Schraube M 6 X 10  4  
-944 701 422 00sticker airbag  1  
3 928 652 211 00support for contact  1  
4 928 613 220 02front sensor  2  
5 944 618 917 00switch unit  1  
-944 618 401 00nut  4  


Porsche 944 8Mail.de Fanpage

Porsche 944 Home


FreeCounter by http://www.eurocounter.com