Porsche 944 Kopflamp Teile

Kopflamp

  
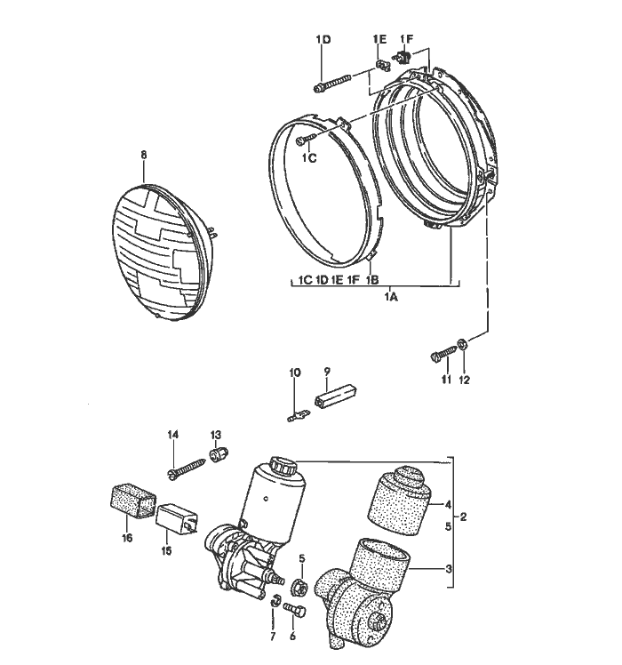
Pos__Part_Number__DescriptionRemarkQty.Model
  headlamp    
  electric motor    
  pop-up headlight    
1A 477 941 050 Aretaining frame  2  
1B 111 941 049 Aretaining ring  2  
1C N 013 961 2tapping Schraube  6  
1D 477 941 143adjusting Schraube  4  
1E 477 941 145retainer spring  4  
1F 477 941 147threaded piece  4  
2 477 941 379 Belectric motor  1  
  for    
  pop-up headlight    
3 477 941 386protection cap  1  
  lower    
4 477 941 387protection cap  1  
  upper    
-477 941 383diode  X  
  for    
  engine    
  pop-up headlight    
5 999 084 045 02lock nut  1  
  M 6    
6 999 072 005 09hexagon-head bolt  3  
  M 6 X 12    
7 N 012 006 4lock ring  3  
  B 6    
8 999 631 127 90headlamp unit  2  
  sealed-beam    
9 111 971 977plug with guide  6  
10 111 971 986flat plug  6  
  6,3 X 0,8    
  with    
  clip    
11 900 143 041 00tapping Schraube  8  
  B 3,9 X 19    
  
Pos__Part_Number__DescriptionRemarkQty.Model
12 900 025 002 02washer A 4,3  8  
13 477 857 173clip  2  
14 N 043 979 2tapping Schraube BZ 4,2 X 45  2  
15 111 943 383 Crelay  1  
16 477 971 923protection cap  1  
-944 612 035 00wiring harness for headlamp  2  


Porsche 944 8Mail.de Fanpage

Porsche 944 Home


FreeCounter by http://www.eurocounter.com