Porsche 944 Kraftstoff System Teile

Kraftstoff System

  
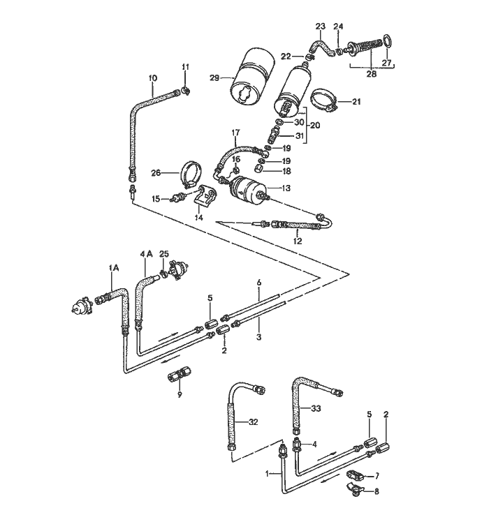
Pos__Part_Number__DescriptionRemarkQty.Model
  fuel system   M44.11/12/52
1A 951 356 919 03fuel line  1  
  F >>94KN4 52638   M44.11/12
  F >>95KN1 51359   M44.51/52
1 944 356 969 10fuel line  1  
  F 94KN4 52639>>   M44.11/12
  F 95KN1 51360>>   M44.51/52
2 477 209 169connecting piece  1  
3 951 356 967 02fuel line  1  
4A 951 356 917 03fuel return line  1  
  F >>94KN4 52638   M44.11/12
  F >>95KN1 51359   M44.51/52
4 944 356 937 10fuel return line  1  
  F 94KN4 52639>>   M44.11/12
  F 95KN1 51360>>   M44.51/52
5 477 209 161connecting piece  1  
6 951 356 935 02fuel return line  1  
7 999 591 975 40rubber mounting  9  
8 999 511 199 40clamp  9  
10 951 356 061 02fuel hose  1  
11 N 023 569 2hose clamp  1  
12 941 356 047 10fuel hose  1  
12 951 356 047 03fuel hose  1 M 249
13 928 110 253 06fuel filter  1  
14 951 356 471 01support  1  
14 951 356 471 01support  1 M 249
15 944 610 115 00bonded rubber mounting  2  
16 900 076 010 02hexagon nut  1  
17 951 356 041 07fuel line  1  
17 951 356 041 04fuel line  1 M 249
18 928 110 475 01cap nut  1  
  
Pos__Part_Number__DescriptionRemarkQty.Model
19 N 013 812 2sealing ring  2  
20 944 608 102 06fuel pump  1 944
20 944 608 102 04fuel pump  1 TURBO
21 999 512 397 00hose clamp  1  
22 999 512 554 00hose clamp  1  
23 951 356 557 00fuel hose  1  
24 999 512 346 00hose clamp  1  
25 N 023 577 2hose clamp  1  
26 999 512 390 00hose clamp  1  
27 928 201 187 02sealing ring  1  
28 928 201 081 04fuel filter  1  
29 944 356 091 00housing  1  
30 N 013 812 3sealing ring  1  
31 944 608 951 01check valve  1  
32 951 356 029 02fuel hose  1  
33 951 356 027 13fuel hose  1  
  repair kit    
34 000 043 200 28connection piece  *  


Porsche 944 8Mail.de Fanpage

Porsche 944 Home


FreeCounter by http://www.eurocounter.com