Porsche 944 Auspuff System Teile

Auspuff System

  
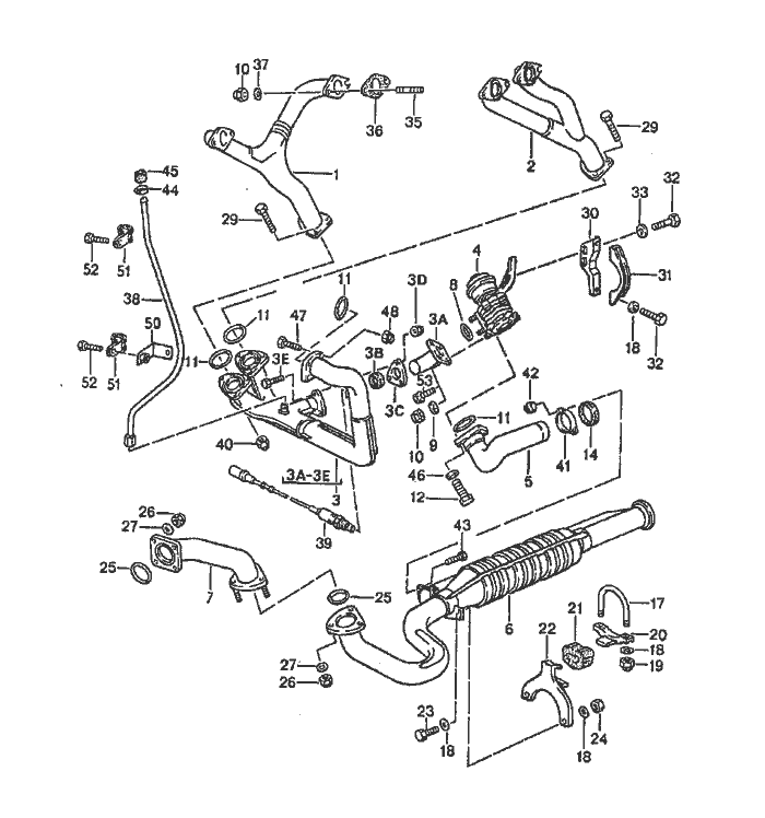
Pos__Part_Number__DescriptionRemarkQty.Model
  exhaust system   M44.52
  catalytic converter    
1 951 111 131 06exhaust manifold  1  
  cylinders 1 and 4    
2 951 111 133 04exhaust manifold  1  
  cyl. 2 and 3    
3 951 111 096 15exhaust pipe  1  
3A 951 123 027 01exhaust pipe  1  
3B 930 123 134 04gasket  1  
3C 951 123 260 01flange  1  
3D 999 084 051 02lock nut  3  
3E 900 074 267 02hexagon-head bolt  3  
4 951 123 015 04wastegate -89 1  
4 951 123 015 04wastegate 901  
5 951 123 040 06exhaust pipe  1  
6 951 111 094 11catalytic converter  1  
7 951 111 098 01exhaust pipe  1  
8 993 111 195 00sealing ring  1  
9 999 025 078 02washer  X  
10 999 084 052 02lock nut  10  
11 944 111 205 04sealing ring  4  
12 900 075 079 02hexagon-head bolt  4  
  M 8 X 25    
14 951 123 134 02gasket  1  
17 477 253 139clip  1  
18 900 025 007 02washer  6  
19 900 910 003 02lock nut  2  
20 944 111 307 00support  1  
21 944 111 142 01rubber mounting  1  
  
Pos__Part_Number__DescriptionRemarkQty.Model
22 951 111 061 01hook  1   
23 900 075 087 02hexagon-head bolt  2   
  M 8 X 15     
24 900 076 025 02hexagon nut  2   
25 944 111 205 03sealing ring  2   
26 999 084 047 02lock nut  8   
27 900 025 008 09washer  8   
29 900 074 282 02hexagon-head bolt  6   
30 951 123 155 02support  1   
31 951 123 179 02clip  1   
32 900 075 085 02hexagon-head bolt  2   
  M 8 X 20     
33 900 223 001 02washer  2   
34 900 075 085 02hexagon-head bolt  2   
  M 8 X 20     
35 999 062 044 02stud  8   
36 944 111 196 00gasket  4 WW  
36 944 111 196 01gasket  4 WW  
37 928 111 181 00washer  4   
38 951 111 175 02exhaust emission tube  1   
39 951 606 135 00oxygen sensor  1   
40 999 084 052 02lock nut  6   
41 951 123 138 01flange  1   
42 900 910 096 02lock nut  2   
  M 6     
43 900 074 234 02hexagon-head bolt  2   
  M 6 X 40     
44 999 512 160 02hose clamp  1   
45 034 133 335 Dcap  1   
  
Pos__Part_Number__DescriptionRemarkQty.Model
46 N 012 009 1lock ring  1  
47 N 010 020 2hexagon-head bolt  4  
48 N 900 730 01lock nut  3  
50 944 111 177 02support  1  
51 N 020 609 3clip  2  
52 999 072 005 09hexagon-head bolt  2  
  M 6 X 12    
53 900 075 420 02hexagon-head bolt  4  


Porsche 944 8Mail.de Fanpage

Porsche 944 Home


FreeCounter by http://www.eurocounter.com