Porsche 944 Bremse Lines Teile

Bremse Lines

  
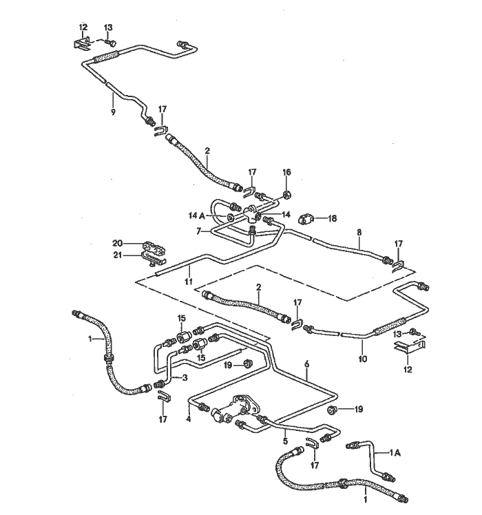
Pos__Part_Number__DescriptionRemarkQty.Model
  brake lines     
1 944 355 079 01brake hose Vorder 2  
1 951 355 079 31brake hose Vorder 2 TURBO
    90 944S2 M 030
1A 951 355 041 30brake line Left 1 TURBO
    90 944S2 M 030
(1A) 951 355 042 30brake line Right 1 TURBO
    90 944S2 M 030
2 944 355 081 01brake hose Hinter 2  
3 951 355 032 10brake line Right 1 COUPE
(3) 941 355 032 05brake line Right-89 1 CABRIO
4 951 355 031 15brake line Right 1  
5 951 355 029 10brake line Left 1 COUPE
(5) 941 355 029 05brake line Left-89 1 CABRIO
6 951 355 033 10brake line   1 944S2/TURBO
6 944 355 034 10brake line   1 944
7 951 355 062 03brake line Right 1  
8 951 355 061 02brake line Left 1  
9 951 355 036 02brake line Right 1  
10 951 355 035 02brake line Left 1  
11 951 355 037 02brake line   1 COUPE
(11) 941 355 037 12brake line  -89 1 CABRIO
12 477 611 783support   2  
13 N 010 210 13hexagon-head bolt   2  
14 914 355 667 00distributor   1  
14A N 015 404 1washer   1  
(15) 944 355 083 02intermediate piece   1  
16 N 011 116 5hexagon nut   1  
  
Pos__Part_Number__DescriptionRemarkQty.Model
17 113 611 715 Abrake hose bracket  8  
18 811 611 797clip  12  
19 951 355 755 00rubber sleeve  4  
20 999 591 975 40rubber mounting  8  
21 999 511 199 40clamp  8  


Porsche 944 8Mail.de Fanpage

Porsche 944 Home


FreeCounter by http://www.eurocounter.com