Porsche 944 Hinter Lid Teile

Hinter Lid

  
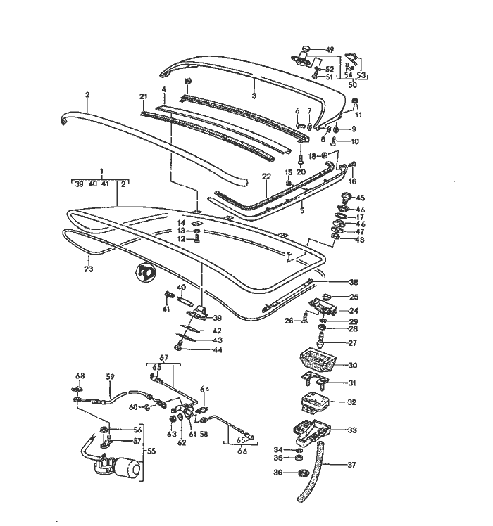
Pos__Part_Number__DescriptionRemarkQty.Model
  rear lid  90- TURBO
  rear spoiler  91 944S2
1 951 512 929 01rear lid   1  
2 477 853 313 Atrim frame   1  
3 951 512 101 00rear spoiler   1  
 03Crally black     
4 951 512 103 00rear spoiler   1  
 03Crally black     
5 951 512 405 00rear spoiler Left 1  
 03Crally black     
(5) 951 512 406 00rear spoiler Right 1  
 03Crally black     
6 N 033 184 1countersunk-head Schraube   2  
  M 5 X 22     
7 803 955 637rubber washer   4  
8 900 151 027 07washer   2  
  B 5,3 X 15     
9 900 034 033 07nut   2  
  M 5     
10 900 269 054 07countersunk-head Schraube   2  
  M 5 X 25     
11 900 380 001 02nut   2  
  M 5     
12 N 102 158 01pan-head Schraube   4  
  M 5 X 8     
13 900 025 053 07washer   4  
  A 5,3 X 10     
14 951 512 733 01compensating plate   X  
15 N 021 255 1slotted nut   14  
  M 4     
16 900 269 017 02countersunk-head Schraube   2  
  M 5 X 12     
  
Pos__Part_Number__DescriptionRemarkQty.Model
17 999 707 301 40o-ring   1  
18 900 380 001 02lock nut   2  
  M 5     
19 951 512 465 02additional gasket   1  
20 900 250 024 07Schraube   2  
  DM 4 X 16     
21 951 512 603 00gasket   1  
22 951 512 605 01gasket Left 1  
 01Cblack     
(22) 951 512 606 01gasket Right 1  
 01Cblack     
23 944 512 043 00seal for rear lid   1  
24 944 512 033 03housing Left 1  
(24) 944 512 034 03housing Right 1  
25 477 827 035rubber mounting   2  
26 999 219 011 07countersunk-head Schraube   4  
  M 6 X 16     
27 944 538 547 00lock pin   2  
28 N 011 008 8hexagon nut   2  
  M 8     
29 900 027 015 02lock ring   2  
  B 8     
30 944 512 365 01gasket Left 1  
(30) 944 512 366 01gasket Right 1  
31 951 512 447 00reinforcement plate   2  
32 944 538 955 00rear lid lock Left 1  
(32) 944 538 956 00rear lid lock Right 1  
33 477 827 541water drip pan   2  
34 N 012 006 4lock ring   4  
  B 6     
  
Pos__Part_Number__DescriptionRemarkQty.Model
35 900 076 010 02hexagon nut   4  
  M 6     
36 111 971 911 Arubber sleeve   2  
37 477 827 547hose   2  
  400 MM     
38 944 512 349 00gas-pressure spring Left 1  
(38) 944 512 348 00gas-pressure spring Right 1  
39 477 827 305 Bhinge half   2  
40 944 512 311 00hinge pin   2  
41 477 827 441bush   2  
42 944 512 413 00gasket   2  
43 928 512 417 03plate   2  
44 999 218 045 07pan-head Schraube   4  
  M 8 X 16     
  micro-self-locking     
45 477 845 333Schraube plug   1  
46 477 955 439grommet   2  
47 477 845 331washer   1  
48 N 011 118 14hexagon nut   1  
  M 8     
49 477 827 529 Asealing ring   1  
50 944 538 911 02lock cylinder   1  
  w/o stipulated lock number     
  with 2 secondary keys     
50 944 538 073 01lock cylinder   1  
  with stipulated lock number     
  state lock number     
51 N 014 139 5oval-head Schraube   2  
  M 6 X 12     
52 N 012 007 2lock ring   2  
  A 6     
53 944 624 030 00microswitch   1  
  
Pos__Part_Number__DescriptionRemarkQty.Model
54 999 591 910 00clamp   1  
55 944 624 024 02electric motor   1  
  see technical information     
  GR.5,NR.1/93     
56 999 084 045 02lock nut   1  
57 944 624 814 00lever   1  
58 993 531 563 00linkage clip   1  
59 944 512 097 03bowden cable   1  
60 N 012 433 1lock washer   1  
61 944 512 095 00lever   1  
62 N 011 524 7washer   2  
  B 6     
63 900 076 010 02hexagon nut   2  
  M 6     
64 944 512 201 00stud   2  
65 999 168 025 00ball socket   1  
66 944 512 091 00pull rod Left 1  
67 944 512 092 01pull rod Right 1  
68 999 166 054 02sl-lock   1  


Porsche 944 8Mail.de Fanpage

Porsche 944 Home


FreeCounter by http://www.eurocounter.com