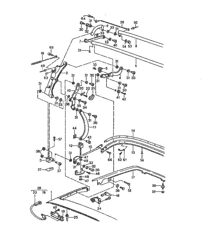
Porsche 944 Convertible Top Frame Teile

Convertible Top Frame

  
Pos__Part_Number__DescriptionRemarkQty.Model
  convertible top frame    CABRIO
1 941 561 125 10roof frame   1  
(2) A 941 561 501 10connecting piece Left 1  
(2) 941 561 201 10main folding top bow Left 1  
2 A 941 561 502 10connecting piece Right 1  
2 941 561 202 10main folding top bow Right 1  
(3) 941 561 507 10convertible top support Left 1  
3 941 561 508 10convertible top support Right 1  
(4) 941 561 563 10lever Left 1  
 03Crally black     
4 941 561 564 10lever Right 1  
 03Crally black     
5 941 561 565 10buffer   2  
6 941 561 561 10intermed. folding top bow Vorder 1  
(7) 941 561 569 10lever Left 1  
 03Crally black     
7 941 561 570 10lever Right 1  
 03Crally black     
8 941 561 503 10main folding top bow   1  
(9) 941 561 505 10extension Left 1  
9 941 561 506 10extension Right 1  
(10) 941 561 555 10lever Left 1  
 03Crally black     
10 941 561 556 10lever Right 1  
 03Crally black     
(11) 941 561 557 10lever Left 1  
 03Crally black     
  
Pos__Part_Number__DescriptionRemarkQty.Model
11 941 561 558 10lever Right 1  
 03Crally black     
12 941 561 559 10joint fork   2  
13 941 561 509 10intermed. folding top bow Hinter 1  
14 941 561 515 10connecting rail   1  
(15) 941 561 531 10connecting piece Left 1  
15 941 561 532 10connecting piece Right 1  
16 941 561 535 10tension rope   2  
17 941 561 471 10clamp   1  
18 911 565 075 62lever   2  
 70Bblack     
(19) 941 561 963 10gate guide Left 1  
19 941 561 964 10gate guide Right 1  
20 901 552 872 20coat hook   2  
21 901 552 871 40cover   2  
22 900 250 007 02tapping Schraube   2  
  AM 5 X 12     
23 941 613 103 10microswitch   2  
(24) 941 565 031 10catch Left 1  
24 941 565 032 10catch Right 1  
25 941 565 214 10locating peg   2  
26 941 561 537 10tension rope   2  
27 941 561 527 10spacer plate   2  
(28) 941 561 963 10gate guide Left 1  
28 941 561 964 10gate guide Right 1  
29 941 504 717 10threaded bolt   4  
  
Pos__Part_Number__DescriptionRemarkQty.Model
30 941 504 817 10Schraube  12  
  M 8 X 22,5    
  micro-self-locking    
31 941 504 815 10bearing sleeve  24  
32 941 504 838 10lock washer  6  
33 941 561 574 10spacer sleeve  8  
34 941 504 826 10Schraube  2  
  M 10 X 21,5    
  micro-self-locking    
35 999 924 028 00bearing sleeve  2  
36 911 561 430 00washer  2  
37 941 504 829 10Schraube  2  
  M 8 X 42    
  micro-self-locking    
38 900 377 003 02hexagon nut  4  
39 941 504 865 10washer  2  
40 941 504 818 10Schraube  2  
  M 8 X 16,8    
41 911 561 402 00eccentric washer  2  
42 N 033 185 1countersunk-head Schraube  2  
43 911 561 761 65bolt  2  
44 999 166 034 02sl-lock  2  
45 911 561 431 65bearing bracket  2  
46 941 504 801 10Schraube  4  
  M 8 X 20    
47 N 011 010 13hexagon nut  4  
  M 10    
48 900 025 008 09washer  4  
  A 10,5    
49 999 190 405 00blind rivet  4  
  4,8 X 13,9    
50 N 901 499 01blind rivet  2  
  4 X 7,4    
  
Pos__Part_Number__DescriptionRemarkQty.Model
51 941 504 839 10Schraube  2  
  4,2 X 16    
52 941 504 835 10washer  2  
53 900 096 003 07cap nut  2  
  M 8    
54 900 025 048 07washer  2  
  A 8    
55 941 504 825 10Schraube  2  
  M 4 X 8    
56 941 504 837 10Schraube  X  
57 941 504 801 10Schraube  4  
  M 8 X 20    
58 941 504 844 10Schraube  2  
  4,8 X 16    
59 941 504 843 10nut  4  
  M 6    
60 941 504 849 10Schraube  4  
  M 6 X 10    
61 941 561 585 10retaining bar  2  
62 N 013 997 2tapping Schraube  4  
  B 4,2 X 13    
63 941 504 713 10rubber stop  2  
64 941 504 873 10Schraube  2  
  M 4 X 11    
65 999 217 078 07hexagon-head bolt  2  
  M 4 X 6    
66 941 504 841 10hexagon socket head bolt  4  
  M 5 X 12    


Porsche 944 8Mail.de Fanpage

Porsche 944 Home


FreeCounter by http://www.eurocounter.com