Porsche 944 Convertible Top Control Teile

Convertible Top Control

  
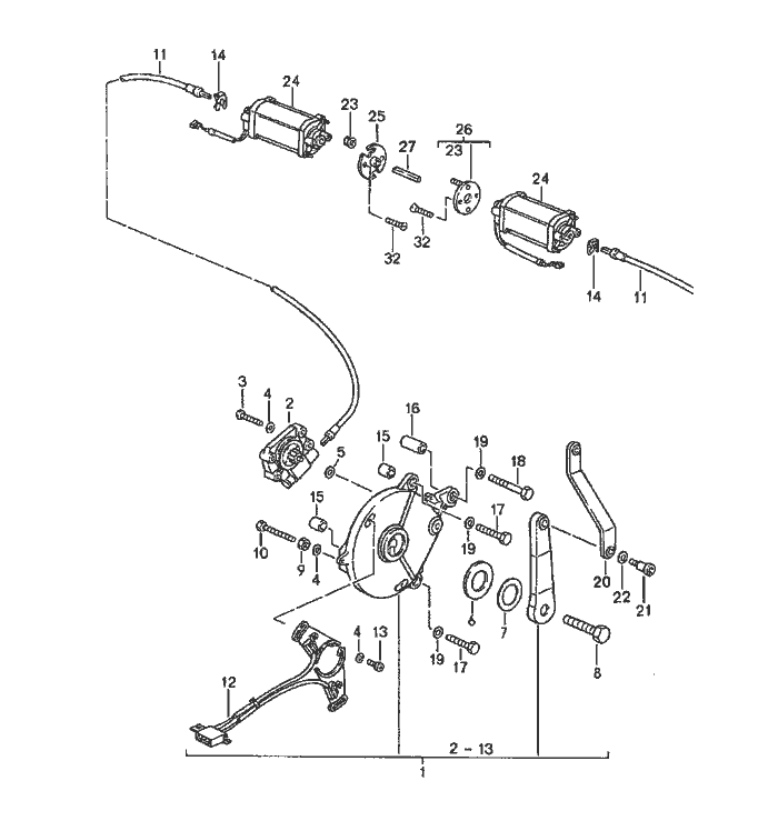
Pos__Part_Number__DescriptionRemarkQty.Model
  convertible top control    CABRIO
  electric     
(1) 911 561 045 68transmission Left 1  
1 911 561 046 68transmission Right 1  
(2) 911 561 103 65planetary transmission Left 1  
2 911 561 104 65planetary transmission Right 1  
3 900 146 025 02Schraube   2  
  M 4 X 18     
4 900 025 002 02washer   6  
  A 4,3     
5 900 234 003 02shim   2  
  8 X 14 X 1,0     
6 999 025 254 10washer   2  
  30 X 50 X 1,5     
7 900 234 143 02shim   X  
  30 X 42 X 0,1     
8 900 378 288 01hexagon-head bolt   2  
  M 12 X 30     
  micro-self-locking     
9 N 011 004 6hexagon nut   2  
  M 4     
10 N 040 257 1hexagon-head bolt   2  
  M 4 X 22     
(11) 911 561 107 66shaft Left 1  
11 911 561 108 66shaft Right 1  
12 911 613 037 00microswitch   1  
  with     
  plate     
13 N 014 122 8oval-head Schraube   2  
  M 4 X 8     
14 911 561 643 65spring clamp   2  
15 941 561 831 10bush   4  
16 941 561 833 10bush   2  
  
Pos__Part_Number__DescriptionRemarkQty.Model
17 N 010 347 5hexagon-head bolt M 6 X 35  4  
18 N 040 303 1hexagon-head bolt M 6 X 50  2  
19 N 015 404 1washer A 6,4  6  
20 941 561 681 10push rod  2  
21 911 561 418 00Schraube M 8 X 20  2  
22 941 504 815 10bearing sleeve  4  
23 999 084 078 02hexagon nut M 5  2  
24 911 624 117 00electric motor  2  
25 911 624 269 01washer  1  
26 911 624 171 01washer  1  
27 911 624 273 00connecting piece  1  
32 999 919 045 02locking Schraube M 5 X 16  4  


Porsche 944 8Mail.de Fanpage

Porsche 944 Home


FreeCounter by http://www.eurocounter.com