Porsche 944 Central Elektrikal System Teile

Central Elektrikal System

  
Pos__Part_Number__DescriptionRemarkQty.Model
  central electrical system    
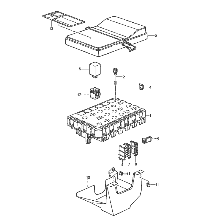
1 944 610 110 00mounting plate  1  
2 944 610 611 00Schraube  2  
3 944 610 017 02lid  1  
3 944 610 017 02lid  1  
  fuse    
4 999 607 005 00fuse  X  
  7,5 A    
4 999 607 007 00fuse  X  
  15 A    
4 999 607 009 00fuse  X  
  25 A    
4 999 607 010 00fuse  X  
  30 A    
5  relay    
G1 944 615 119 00relay  1  
  for    
  blower    
G2 141 951 253 Brelay  1  
  for    
  KL 15    
G3 928 615 203 00relay  1  
  for    
  rear window heating    
G4 111 953 227 Dflasher relay  1  
G5 993 615 227 00relay  1  
  for    
  -dme    
  fuel pump    
G6 944 610 183 06adapter  1  
  for cars with    
  fog headlamp    
G7 944 615 116 00relay  1  
  for    
  power window    
  
Pos__Part_Number__DescriptionRemarkQty.Model
G9 993 615 101 00switch unit  1  
G10 944 615 104 03relay for 2 motor fan  1 944 M 573, 944 S2, TURBO
G11 141 951 253 Brelay for  1  
  fog headlamp rear fog light    
G12 944 615 119 00relay for  1  
  fog headlamp    
G13 141 951 253 Brelay for fanfare  1  
G14 191 937 503relay for KL.X  1  
G15 928 618 111 00relay for  1  
  headlight washer system    
G16 928 618 102 03relay warning time relay  1 (SA)(USA) (CDN)
G17 944 615 115 00relay for  1  
  air-conditioning switch    
G18 944 615 113 01relay for -90 1 (USA)
  alarm system    
G18 944 615 123 00relay for light 901 (CDN)
G19 928 637 160 00relay for -90 -91 1 TURBO
  alarm system    
G19 928 615 175 00plug bridge -90 1  
G20 928 615 124 01relay for  1  
  -ABS   
  
Pos__Part_Number__DescriptionRemarkQty.Model
G21 944 615 117 02relay  1  
  for    
  lifting roof    
G21 941 615 101 11relay  1  
  for    
  convertible top    
  electric    
G22 951 618 149 00relay  1  
  for    
  water pump    
  turbocharger    
6 928 612 331 00initial housing  X  
  black    
7 928 612 332 00module housing  X  
8 928 612 335 25coding element  X  
9 443 941 802tool  1  
10 944 610 219 02cover  1  
11 999 591 839 40hexagon nut  3  
12 928 610 511 00relay carrier  6  
  assignment sticker    
13 A 944 610 231 04assignment sticker 89 1  
  english    
13 944 610 231 04assignment sticker -90 1  
  english 91  TURBO
13 944 610 231 05assignment sticker 91 1  
  english    
13 A 944 610 241 04assignment sticker 89 1  
  french    
13 944 610 241 04assignment sticker -90 1  
  french 91  TURBO
13 944 610 241 05assignment sticker 91 1  
  french    
14 941 610 222 02assignment sticker -90 1 CABRIO
  english 91  CABRIO TURBO
  
Pos__Part_Number__DescriptionRemarkQty.Model
14 941 610 222 03assignment sticker -90 1 CABRIO
  french 91  CABRIO TURBO


Porsche 944 8Mail.de Fanpage

Porsche 944 Home


FreeCounter by http://www.eurocounter.com