Porsche 968 Auspuff System Teile

Auspuff System

  
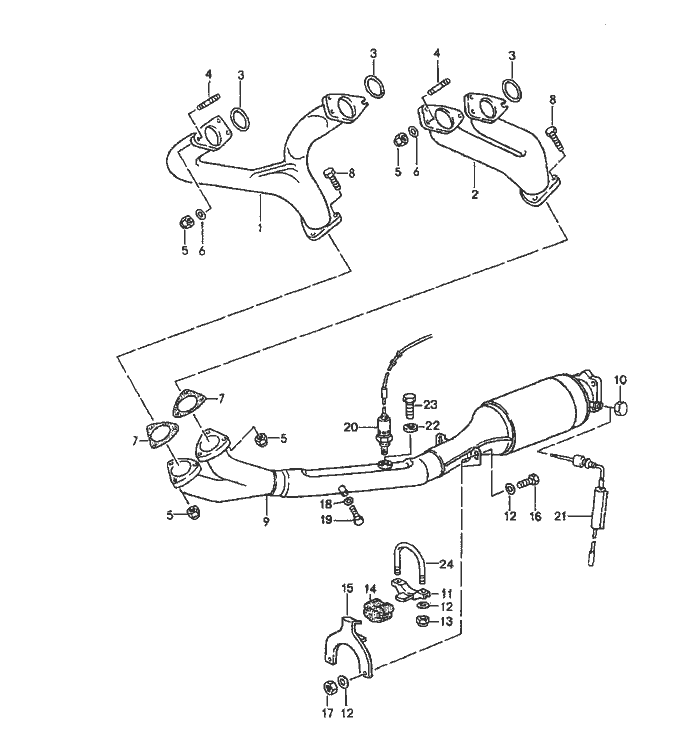
Pos__Part_Number__DescriptionRemarkQty.Model
  exhaust system    
  catalytic converter    
1 944 111 183 03exhaust manifold  1  
  cylinders 1 and 4    
2 944 111 184 02exhaust manifold  1  
  cyl. 2 and 3    
3 944 111 205 00sealing ring  4  
4 999 062 139 02stud  12  
5 999 084 052 02lock nut  18  
  M 8    
6 928 111 181 00washer  12  
7 944 111 135 01gasket  2  
8 900 074 282 02hexagon-head bolt  6  
  M 8 X 37    
9 A 944 111 081 12catalytic converter 92 1  
9 944 111 991 11catalytic converter 931  
  use also:    
10 951 111 171 00cap  1  
11 944 111 307 01support  1  
12 900 025 007 02washer  6  
13 900 910 003 02lock nut  2  
14 944 111 142 01rubber mounting  1  
15 931 111 061 02hook  1  
16 900 075 078 02hexagon-head bolt  2  
17 900 076 025 02hexagon nut  2  
18 N 043 813 3sealing ring  1  
19 900 083 080 00hexagon-head bolt  1  
20 944 606 135 02oxygen sensor  1  
24 944 111 239 00clip  1  


Porsche 944 8Mail.de Fanpage

Porsche 944 Home


FreeCounter by http://www.eurocounter.com