Porsche 968 Manual Getriebe Teile

Manual Getriebe

  
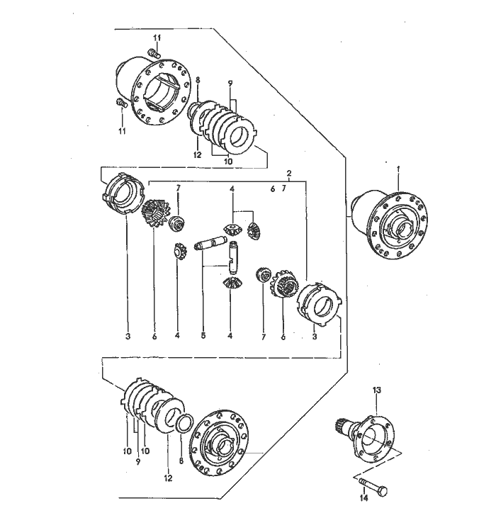
Pos__Part_Number__DescriptionRemarkQty.Model
  manual transmission   G44.00
  limited-slip differential   M 220
(1) 950 332 053 06limited-slip differential  1  
  40 %    
  TORSEN    
1 950 332 053 06limited-slip differential  1  
  40 %    
  ZF    
2 928 332 905 00differential pinions  1  
  1 set    
3 928 332 511 00thrust ring  2  
4 -bevel pinion  4  
5 928 332 541 00differential shaft  2  
6 -shaft bevel gear  2  
7 928 332 279 01threaded disc  2  
8 901 332 561 11thrust washer  2  
9 928 332 551 00inner disc  2  
  2,0 MM    
10 917 332 552 10disc with external splines  4  
  1,9 MM    
10 917 332 552 11disc with external splines  4  
  2,0 MM    
10 917 332 552 12disc with external splines  2  
  2,1 MM    
11 N 014 765 2pan-head Schraube  2  
  M 6 X 10    
12 928 332 555 20cup spring  2  
13 01E 409 355 Bflanged shaft  2  
14 N 010 472 4hexagon-head bolt  2  
  M 10 X 85    


Porsche 944 8Mail.de Fanpage

Porsche 944 Home


FreeCounter by http://www.eurocounter.com