Porsche 968 Starter Teile

Starter

  
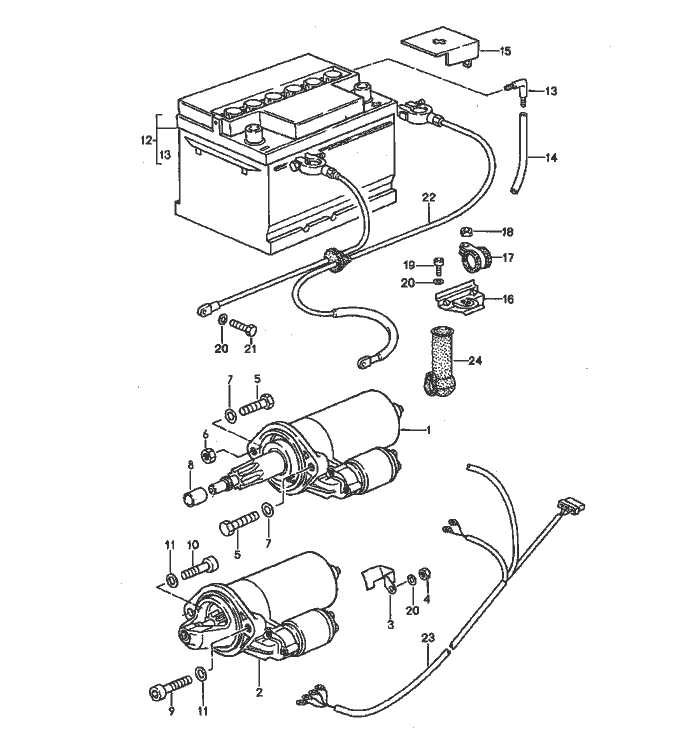
Pos__Part_Number__DescriptionRemarkQty.Model
  starter     
  battery     
  wiring harnesses     
1 944 604 104 00starter   1  
  1,7 KW     
2 944 604 103 00starter   1 TIPTRONIC
  1,7 KW     
3 944 604 122 00insulating piece   1 TIPTRONIC
4 900 084 004 02hexagon nut   1 TIPTRONIC
  M 8     
5 N 040 281 1hexagon-head bolt   2  
  M 10 X 45     
6 N 011 010 6hexagon nut   1  
  M 10     
7 900 025 008 09washer   2  
  A 10,5     
8 999 531 017 10bush   1  
9 900 067 032 02pan-head Schraube   1 TIPTRONIC
  M 12 X 50     
10 900 067 283 02pan-head Schraube   1 TIPTRONIC
  M 12 X 35     
11 N 011 564 2washer   2 TIPTRONIC
  B 13     
12 999 611 065 20battery Left Hand Drive 1  
  65 AH     
13 893 915 507angled pipe   1  
-477 915 505hose   *  
14 -250 MM   1  
15 477 915 429 Apole covering Left Hand Drive 1  
16 914 611 233 10tension terminal Left Hand Drive 1  
17 999 511 077 02clamp Left Hand Drive 1  
18 477 915 489hexagon nut Left Hand Drive 1  
  M 8     
  
Pos__Part_Number__DescriptionRemarkQty.Model
21 N 010 241 0hexagon-head bolt M 8 X 20   1  
22 944 612 027 03wiring harness battery starter Left Hand Drive 1  
22 944 612 027 04wiring harness battery starter Left Hand Drive 1 TIPTRONIC
23 944 607 029 04wiring harness starter   1  
  generator     
23 944 607 029 08wiring harness starter   1 TIPTRONIC
  generator     
24 999 659 006 50protection cap starter   1  


Porsche 944 8Mail.de Fanpage

Porsche 944 Home


FreeCounter by http://www.eurocounter.com