
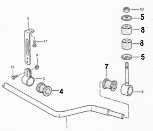
Nr.4 im Bild oben 2x Gummibuchse für Stabi 26,8mm ![]() Teil Nr.: 951 343 794 04 |
Nr.7 im Bild oben 2x Gummibuchse für Stabi 25,5 / 26,8mm ![]() Teil Nr.: 951 343 793 30 |
Nr.8 im Bild oben 4x Lagergummi ![]() Teil Nr.: 951 343 795 01 |
Nr.5 im Bild oben 4x Tellerscheibe ![]() Teil Nr.: 477 411 043 |
| - | Motorunterschutz entfernen |
| - | Jetzt sieht man, das der Stabi an vier Punkten gehalten wird. |
| rechts und links an den Querlenkern und in der Mitte rechts und links vom Motor |
| - | Die Sicherungsmuttern (je eine rechts und links) von oben an den Querlenkern abschrauben. |
| - | Die äusseren Hülsen können jetzt nach unten herausgezogen werden. |
| ggf.von oben durch leichtes Schlagen etwas nachhelfen. | |
| - | Dann die mittleren Hülsen abschrauben, dazu je zwei Schrauben mit Muttern herausdrehen. |
| - | Jetzt hat man den kompletten Stabi in der Hand. |
| - | Die äusseren Hülsen vom Stabi abziehen |
| - | Die Lagergummis und Tellerscheiben abnehmen. |
| - | die Gummibuchsen aus den Hülsen ziehen (geht etwas schwer, Zange o.ä. zur Hilfe nehmen) |
| eine Gummibuchse war bei mir schon so defekt, das sie ein Loch hatte | |
| - | Rost und Dreck aus den Hülsen entfernen |
![]() |
![]() |
| - | Neue Gummis mit Vaseline einschmieren und in die Hülsen drücken. |
| Es wird oft geschrieben, das dies sehr schwer gehen soll, aber ich hatte damit keine Probleme. | |
| Ich konnte sie von Hand ohne Hilfsmitte reindrücken, | |
| vielleicht hab ich mehr mit Vaseline geschmiert | |
| Falls es jedoch schwer gehen sollte, kann man die Gummis mit einer Gewindestange | |
| mit Tellern recht und links durch Festdrehen der Muttern eindrücken. | |
| Das hatte ich mir vorher bereitgelegt, brauchte es aber nicht. | |
| Mit einem Schraubstock und Zwischenlagen, die so breit wie die Gummis sind sollte es auch gehen. | |
| - | Je eine Tellerscheibe und ein Lagergummi auf den Bolzen der Hülsen schieben. |
| - | Damit sind die äußeren Hülsen soweit fertig. |
| - | Bei den inneren Hülsen die Schellen etwas aufbiegen und |
| den Stabi aussen säubern und mit Vaseline einschmieren. | |
| Nun können die Gummis mit den Schellen von Stabi geschoben weden |
| - | Rost und Dreck an den Schellen entfernen |
| - | die neuen Gummis in die Schellen eindrücken (Vaseline) |
| - | Den Stabi und die Gummihülse nochmal mit Vaseline einschmieren und die Gummihülse |
| mit der Schelle so weit auf den Stabi aufschieben, bis sie ungefähr an der vorherigen Stelle ist. | |
| - | Jetzt ist der Stabi zum Einbau fertig. |
| - | jetzt die äußeren Hülsen auf den Stabi aufstecken |
| - | Den Stabi unter dem Wagen ausrichten und anheben. |
| Der Stabi wird zuerst am Dreieckslenker befestigt. | |
| - | die Bolzen in die Löcher am Querlenker stecken (evtl.Wagenheber zur Hilfe nehmen) |
| - | das zweite Gummi und die zweite Tellerscheibe von oben aufschieben. |
| - | Sicherungsmutter leicht anziehen (neue Muttern verwenden) |
| - | die mittleren Hülsen ausrichten und anschrauben. |
| - | Jetzt erst die Schrauben am Querlenker anziehen (25 Nm) |
| - | dann die mittleren Hülsen festziehen (23 Nm) |
| - | Motorunterschutz anbauen |
| - | Fertig |