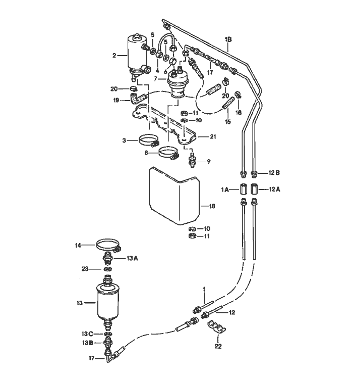
 Porsche 924 Kraftstoff System |
 Porsche 924 Kraftstoff System |
 Porsche 924 Porsche 924 Teile und Zubehör |
 Porsche 924 Kraftstoff Tank |
 Porsche 924 Reperatur Kits |
 Porsche 924 Carbon Canister |
 Porsche 924 Kraftstoff System |
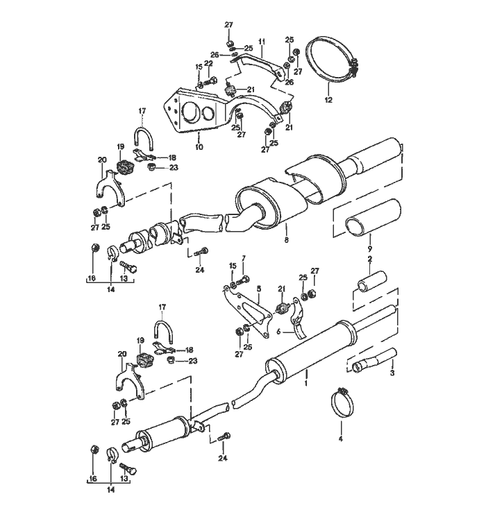
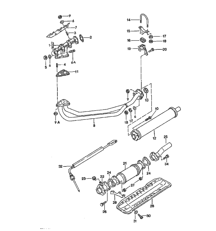
 Porsche 924 Auspuff System |
 Porsche 924 Kraftstoff System |
 Porsche 924 Auspuff System |