Porsche 944 Diagramme

Explosionszeichnungen, Diagramme, Teilenummern für alle Teile des Porsche 944

Porsche 944 L Jetronic

Porsche 944 Short Motor

Porsche 944 L Jetronic 1

Porsche 944 L Jetronic

Porsche 944 Wasser Pumpe

Porsche 944 Zylinder Kopf

Porsche 944 L Jetronic

Porsche 944 L Jetronic

Porsche 944 Luft Cleaner System

Porsche 944 Nockenwelle

Porsche 944 Öl Kühlung

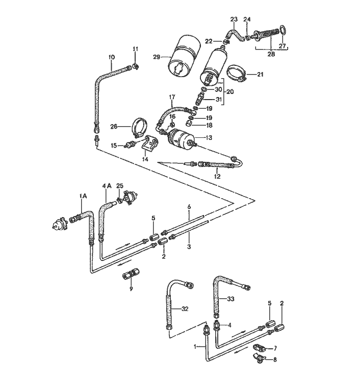
Porsche 944 L Jetronic

Porsche 944 Wasser Kühlung

Porsche 944 L Jetronic

Porsche 944 Motor Schmierung

Porsche 944 Antrieb Ausgleichswelle

Porsche 944 L Jetronic 3

Porsche 944 L Jetronic

Porsche 944 Protective Plate

Porsche 944 Motor Schmierung

Porsche 944 Zylinder Kopf

Porsche 944 Motor Aufhängung

Porsche 944 Motor Schmierung

Porsche 944 Luft Cleaner System

Porsche 944 Charge Luft Cooler

Porsche 944 Wasser Kühlung

Porsche 944 Öl Kühlung

Porsche 944 Zylinder Kopf

Porsche 944 Wasser Kühlung

Porsche 944 Kurbelwelle

Porsche 944 Kurbelgehäuse

Porsche 944 Antrieb Ausgleichswelle

Porsche 944 Nockenwelle Housing

Porsche 944 Reperatur Kits

Porsche 944 Motor Aufhängung

Porsche 944 Luft Cleaner System

Porsche 944 Kolben Kolben Ringe

Porsche 944 L Jetronic

Zum Anfang

Porsche 944 Kraftstoff System

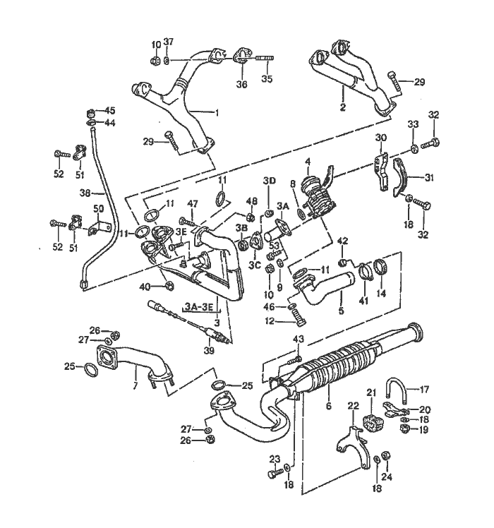
Porsche 944 Auspuff System

Porsche 944 Auspuff System

Porsche 944 Turbocharger

Porsche 944 Kraftstoff Tank

Porsche 944 Auspuff System

Porsche 944 Filler Neck

Porsche 944 Auspuff System

Porsche 944 Filler Neck

Porsche 944 Reperatur Kits

Porsche 944 Auspuff System

Porsche 944 Carbon Canister

Porsche 944 Auspuff System

Porsche 944 Kraftstoff System

Porsche 944 Carbon Canister

Zum Anfang

Porsche 944 Getriebe Control

Porsche 944 Getriebe Case

Porsche 944 Ersatz- Getriebe

Porsche 944 Gears und Shafts

Porsche 944 Getriebe Aufhängung

Porsche 944 Central Tube

Porsche 944 Öl Kühlung

Porsche 944 Limited Slip Differential

Porsche 944 Differential

Porsche 944 Differential

Porsche 944 Slide Valve Gearbox

Porsche 944 Reperatur Kits

Porsche 944 Getriebe Aufhängung For Manual Trans...

Porsche 944 Öl Kühlung

Porsche 944 Ersatz- Getriebe

Porsche 944 Central Tube

Porsche 944 Clutch

Porsche 944 Öl Inlet For Automatic Getriebe

Porsche 944 Getriebe Control

Porsche 944 Getriebe Control

Porsche 944 Gears und Shafts

Zum Anfang

Porsche 944 Luftbag For Left Hand Drive

Porsche 944 Power Lenkung

Porsche 944 Stabiliser

Porsche 944 Aufhängung Stoßdämpfer Vorder

Porsche 944 Wishbone

Porsche 944 Lenkung Rad Lenkung Column Lenkung ...

Porsche 944 Lenkung Knuckle

Porsche 944 Power Lenkung

Zum Anfang

Porsche 944 Vibration Damper

Porsche 944 Reperatur Kits

Porsche 944 Drive Shaft

Porsche 944 Hinter Rad Shaft

Porsche 944 Hinter Achse Carrier

Zum Anfang

Porsche 944 Bremse Lines

Porsche 944 Disc Bremse

Porsche 944 Bremse Master Zylinder

Porsche 944 Disc Bremse Hinter Achse

Porsche 944 Bremse Master Zylinder

Porsche 944 Disc Bremse

Porsche 944 Bremse Lines

Porsche 944 Handbrake

Porsche 944 Disc Bremse Vorder Achse

Porsche 944 Disc Rad

Porsche 944 Hydraulic Unit

Porsche 944 Reperatur Kits

Zum Anfang

Porsche 944 Accelerator Pedal

Porsche 944 Actuator

Porsche 944 Parking Bremse Lever

Porsche 944 Bremse

Porsche 944 Actuator For Manual Getriebe

Porsche 944 Accelerator Pedal

Zum Anfang

Porsche 944 Power Windows

Porsche 944 Getriebe Carrier

Porsche 944 Seat Belt

Porsche 944 Convertible Top Frame

Porsche 944 Linings

Porsche 944 Sill Cover

Porsche 944 Seat Belt Vorder

Porsche 944 Blower

Porsche 944 Compressor

Porsche 944 Body Vorder Section

Porsche 944 Door Trim Panel Rooflining

Porsche 944 Central Locking System

Porsche 944 Vorder Apron

Porsche 944 Seal

Porsche 944 Luggage Compartment Cover

Porsche 944 Side Section

Porsche 944 Hinter Lid

Porsche 944 Power Windows

Porsche 944 Sound Absorber

Porsche 944 Body In White

Porsche 944 Hinter Lid

Porsche 944 Reperatur Kits

Porsche 944 Window Glazing

Porsche 944 Luft Duct

Porsche 944 Wing

Porsche 944 Seat Complete Group 8 08 00 8 08 70 See...

Porsche 944 Outer Door Handle

Porsche 944 Lifting Roof

Porsche 944 Vacuum Control

Porsche 944 Side Member

Porsche 944 Vorder Spoiler

Porsche 944 Lifting Roof

Porsche 944 Control Switch

Porsche 944 Door

Porsche 944 Hinter Lid

Porsche 944 Linings

Porsche 944 Dashboard Trim

Porsche 944 Convertible Top Convertible Top Covering...

Porsche 944 Refrigerant Circuit

Porsche 944 Heater

Porsche 944 Side Section

Porsche 944 Convertible Top Control

Porsche 944 Pop Up Kopflight

Porsche 944 Sun Visor

Porsche 944 Bumper

Porsche 944 Cassette Box Centre Console

Porsche 944 Moulding

Porsche 944 Linings Floor Mat Black

Porsche 944 Convertible Top Cover

Porsche 944 Lid

Porsche 944 Insignias Stone Guard Film

Porsche 944 Floor Section Reinforcement

Zum Anfang

Porsche 944 Generator

Porsche 944 Wiring Harnesses Passenger Compartment

Porsche 944 Relay For Convertible Top Control

Porsche 944 Wiring Harnesses Passenger Compartment

Porsche 944 Flat Plug Push On Connector

Porsche 944 Wiring Harnesses Anti Lock Bremse System ...

Porsche 944 Elektrik Fan

Porsche 944 Motor Elektriks 1

Porsche 944 Connector Housing

Porsche 944 Installation Set

Porsche 944 Wiring Harnesses Motor Heating Luft Cond...

Porsche 944 Battery

Porsche 944 Interior Light

Porsche 944 Instrument Cluster

Porsche 944 Round Connector

Porsche 944 Connector Housing

Porsche 944 Motor Elektriks 2

Porsche 944 Kopflamp

Porsche 944 Kopflight Washer System

Porsche 944 Connector Housing

Porsche 944 Horn

Porsche 944 Windscreen Washer System

Porsche 944 SOUNDSYSTEM

Porsche 944 Connector Housing 4 Pole

Porsche 944 Radio

Porsche 944 Lenkung Column Switch

Porsche 944 Motor Elektriks 1

Porsche 944 Hinter Window Wiper

Porsche 944 Cruise Control

Porsche 944 Switch Clock

Porsche 944 Connector Housing

Porsche 944 Wiring Harnesses Hinter End

Porsche 944 Switch

Porsche 944 Additional Kopflamp

Porsche 944 License Plate Light

Porsche 944 Additional Kopflamp

Porsche 944 Insulated Cable Connection

Porsche 944 Central Elektrikal System

Porsche 944 Wiring Harnesses Doors

Porsche 944 Windscreen Wiper System

Porsche 944 Alarm System

Porsche 944 Connector Housing

Zum Anfang



Porsche 944 8Mail.de Fanpage

Porsche 944 Home


FreeCounter by http://www.eurocounter.com